EasyManua.ls Logo

MD Helicopters 369D - Page 570

MD Helicopters 369D
722 pages
Print Icon
To Next Page IconTo Next Page
To Next Page IconTo Next Page
To Previous Page IconTo Previous Page
To Previous Page IconTo Previous Page
Loading...
CSP-HMI-3 MD Helicopters, Inc.
MAINTENANCE MANUAL
[ Main Menu ]
[ HMI3 Book TOC ]
[ Chapter 96 TOC ]
Page 902
Revision 11
96-45-00
The information disclosed herein is proprietary to MD Helicopters, Inc.
Neither this document nor any part hereof may be reproduced or transferred to
other documents or used or disclosed to others for manufacturing or any other
purpose except as specifically authorized in writing by MD Helicopters, Inc.
Copyright © 19992016 by MD Helicopters, Inc.
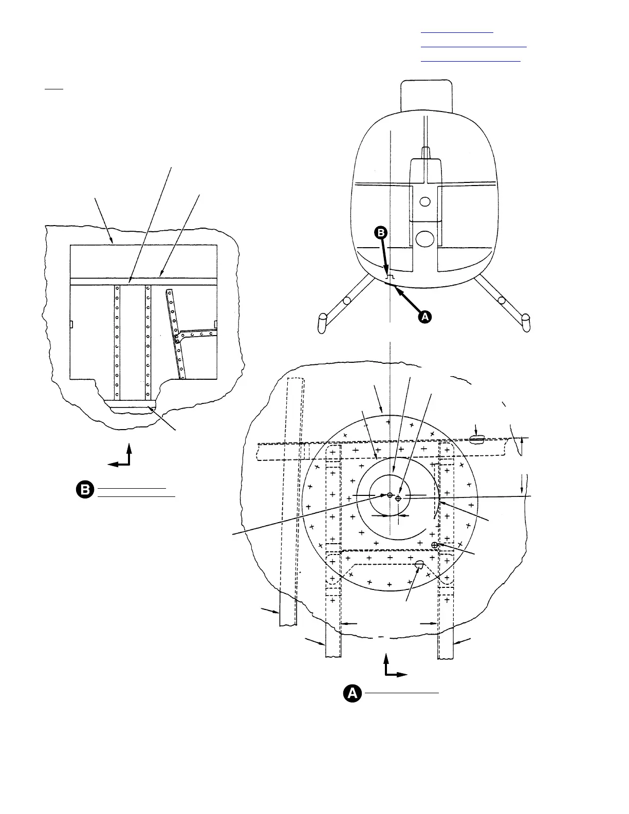
LONGITUDINAL SUPPORT
(NOTE)
FLOOR COMPARTMENT
FRAME
FLOOR ACCESS
NOTE: LONGITUDINAL SUPPORT IN PILOT'S RIGHT-SIDE
FLOOR COMPARTMENT IS REMOVED TO PERMIT CUTOUT
IN SKIN FOR SEARCHLIGHT INSTALLATION. EXISTING
RIVET ATTACH HOLES ARE USED FOR ATTACHMENT OF
SEARCHLIGHT LOWER SUPPORT.
RBL
13
DOUBLER
500-A
SEARCHLIGHT
CENTER OF 2.50 IN.
(6.35 CM) CUTOUT
EXISTING FLOOR
COMPARTMENT FRAME
CUTOUT IN SKIN TO
MATCH DOUBLER
1.86 IN. (4.7244
CM) TRUE
CHAFF
STRIP
DRAIN HOLE
CENTER OF DOUBLER
0.25 IN.
(6.35 MM)
LOWER SUPPORT
EXISTING CHANNEL
R/H CHANNEL
3.00 IN. (7.62 CM)
G96-4016A
L/H CHANNEL
FWD
FWD
INBD
INBD
PILOT'S RIGHT-SIDE
FLOOR COMPARTMENT
DOUBLER ALIGNMENT
(LOOKING UP)
Figure 901. Doubler and Lower Support Attachments

Table of Contents

Other manuals for MD Helicopters 369D

Related product manuals