EasyManua.ls Logo

MD Helicopters 369D - Page 60

MD Helicopters 369D
722 pages
Print Icon
To Next Page IconTo Next Page
To Next Page IconTo Next Page
To Previous Page IconTo Previous Page
To Previous Page IconTo Previous Page
Loading...
CSP-HMI-3 MD Helicopters, Inc.
MAINTENANCE MANUAL
[ Main Menu ]
[ HMI3 Book TOC ]
[ Chapter 95 TOC ]
Page 506
Revision 7
95-00-00
The information disclosed herein is proprietary to MD Helicopters, Inc.
Neither this document nor any part hereof may be reproduced or transferred to
other documents or used or disclosed to others for manufacturing or any other
purpose except as specifically authorized in writing by MD Helicopters, Inc.
Copyright © 19992016 by MD Helicopters, Inc.
G95-0009-1
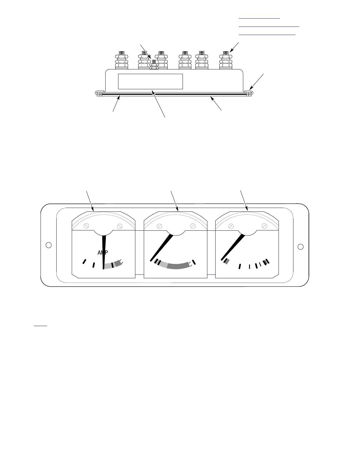
GND STUD
STUD (6 PLCS)
U-NUT (2 PLCS)
(OR EQUIV.)
GASKET
NAME PLATE
CRYSTAL
AMMETER OIL TEMP INDICATOR
FUEL QTY INDICATOR
NOTES
:
1. HARNESS MUST BE IN BACK OF METER AS
SHOWN. HARNESS MAY BE ROUTED ALONG
BOTTOM OF CASE.
2. SEE APPROPRIATE WIRING DIAGRAM (CHAP. 96)
FOR WIRE CONTINUATION.
Î
Î
Î
AMPS
+
_
150 150
7575
0
ENG OIL TEMP
o
C
15
30
54
107
125
E
1
2
3
F
FUEL
LBS X 100
Figure 502. Instrument Cluster ThreePack, With Wiring Harness, Late Model (Sheet 1 of 2)

Table of Contents

Other manuals for MD Helicopters 369D

Related product manuals