EasyManua.ls Logo

MD Helicopters 369D - Page 78

MD Helicopters 369D
722 pages
Print Icon
To Next Page IconTo Next Page
To Next Page IconTo Next Page
To Previous Page IconTo Previous Page
To Previous Page IconTo Previous Page
Loading...
CSP-HMI-3 MD Helicopters, Inc.
MAINTENANCE MANUAL
[ Main Menu ]
[ HMI3 Book TOC ]
[ Chapter 95 TOC ]
Page 902
Revision 7
95-00-00
The information disclosed herein is proprietary to MD Helicopters, Inc.
Neither this document nor any part hereof may be reproduced or transferred to
other documents or used or disclosed to others for manufacturing or any other
purpose except as specifically authorized in writing by MD Helicopters, Inc.
Copyright © 19992016 by MD Helicopters, Inc.
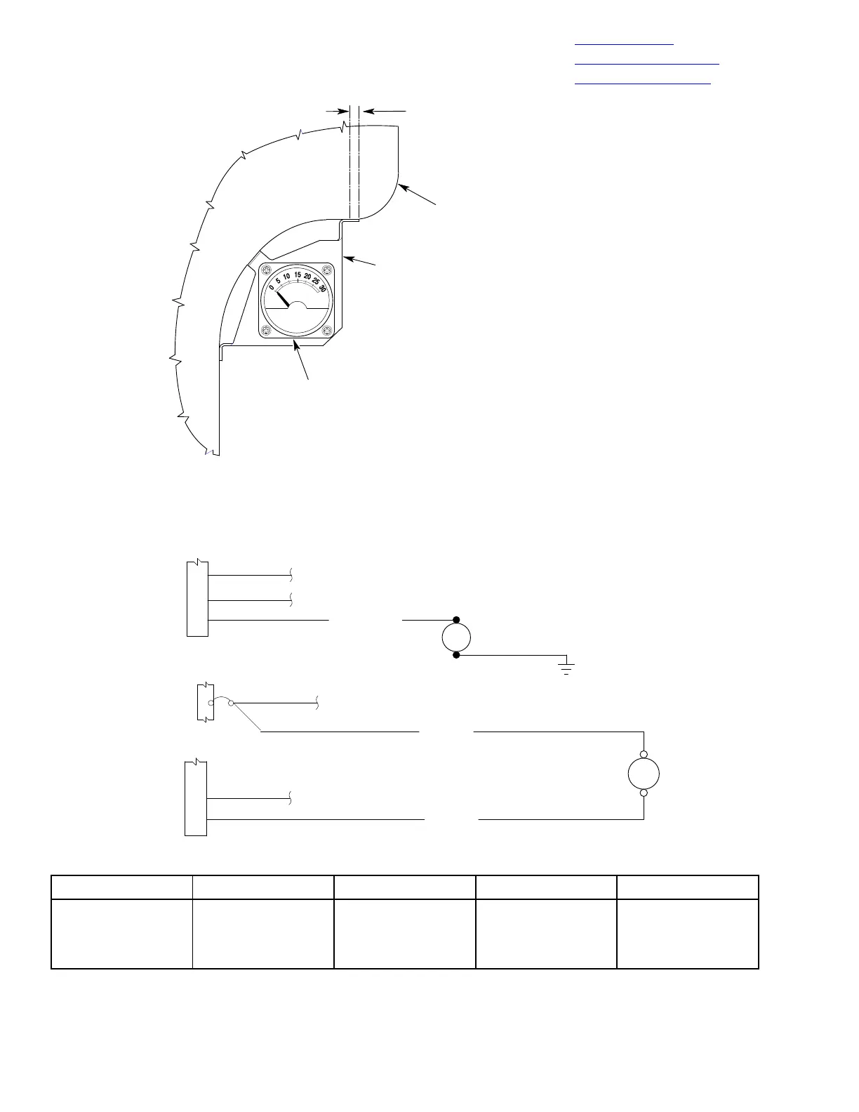
G95-0016-1A
VOLTMETER
BRACKET
RIGHT-HAND COMMAND
T-PANEL
0.28 INCH (7.112 MM) FROM
EXISTING RIVET (2 PLACES)
VOLTS
Figure 901. Mounting Bracket Installation
TB502-9
DIM PWR
L523BB22
XDS24
R
28 VDC
BUS
INST
5A
CB106
2
E544R22
+
M6
TB700-7
GND
D
E545A22
G95-0016-2
E
F
D
E
F
-
V
WIRE NO. FROM TERMINATION TO TERMINATION
L523BB22 TB5029F MPCM22M112 XDS24 SOLDER
E544R22 CB1062 MS25036103 M6(*) MS25036103
E545A22 M6() MS25036103 TB7007F MPCM22M112
Figure 902. DC Voltmeter Electrical Wiring Diagram

Table of Contents

Other manuals for MD Helicopters 369D

Related product manuals