EasyManua.ls Logo

Mercury 40 - Page 200

Mercury 40
599 pages
Print Icon
To Next Page IconTo Next Page
To Next Page IconTo Next Page
To Previous Page IconTo Previous Page
To Previous Page IconTo Previous Page
Loading...
1
4
5
19
20
6
7
21
8
9
10
11
22
12
23
13
14
24
25
27
15
16
17
18
29
30
31
20
28
2
3
26
4-Stroke Outboard Oil (92-828000A12)
110
110
9
95
95
Loctite PST Pipe Sealant (92-809822)
9
95
2-4-C w/Teflon (92-825407A12)
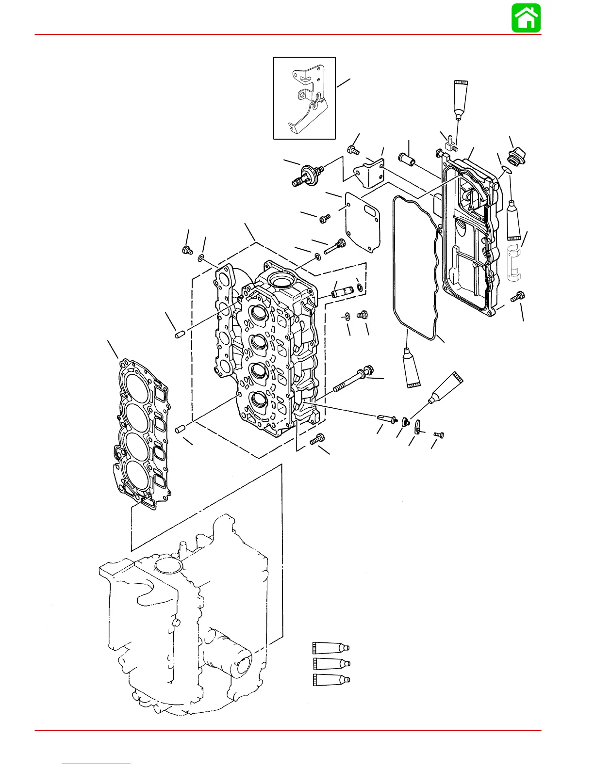
CYLINDER HEAD
Page 4A-4 90-828631R3 MARCH 1999
Cylinder Head

Table of Contents

Other manuals for Mercury 40

Related product manuals