EasyManua.ls Logo

Mircom QX-5000 Series - Page 58

Mircom QX-5000 Series
100 pages
Print Icon
To Next Page IconTo Next Page
To Next Page IconTo Next Page
To Previous Page IconTo Previous Page
To Previous Page IconTo Previous Page
Loading...
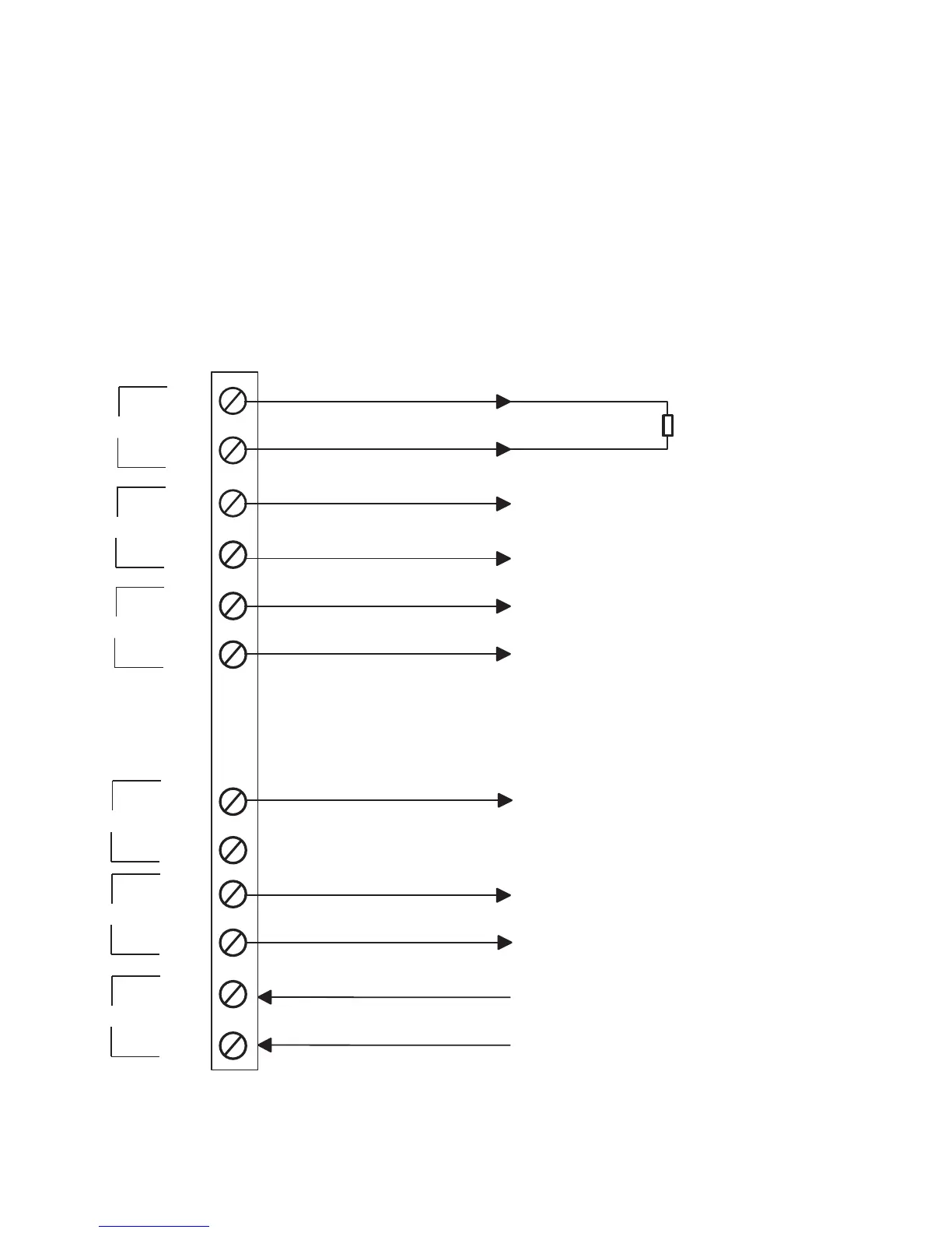
Telephone Module Wiring
52
If the QMT-5300A or QMT-5302 Master Telephone is used with a direct connection to a fire alarm control panel, they
are interconnected as shown in Figure 33 below. One of the fire alarm's detection zones should be configured as
trouble-only to annunciate telephone trouble. This is connected to the master telephone trouble terminals (polarity
does not matter), and the ELR device for that zone is connected to the QMT-5300A or QMT-5302 ELR terminals. DC
power (24 V DC, filtered or unfiltered at 200 mA) is connected to the 24 V DC terminals. If the master telephone is
being used alone as a single-zone system, the NP-735 Label is used, and jumpers are placed on JW1 and JW2
only. The one telephone zone connects to the TEL-CKT terminals. The 10 Kohm ELR resistor that is shipped with
this unit is connected after the last remote telephone on the zone. If the master telephone is being used as a multi-
zoned system with QZT-5302s, the NP-736 Label is used, and a jumper is placed on JW3 only. The TEL-CKT
terminals are left as is. Telephone zone wiring is done via the QZT-5302s.
Figure 34: QMT-5300A or QMT-5302 Master Telephone to Fire Alarm Wiring
4%,%0(/.%#)2#5)4
3).',%:/.%3934%-#,!33"4%,%0(/.%:/.%&/2&4/2
/4(%2#/-0!4)",%2%-/4%4%,%0(/.%3#/..%#4!+%,2
2%3)34/2!&4%24(%,!342%-/4%4%,%0(/.%
-5,4):/.%3934%-$/./4#/..%#4!.92%-/4%4%,%0(/.%3
(%2%4%,%0(/.%:/.%7)2).')3$/.%6)!4(%1:4S
%,2
!002/6%$%,2
%.$/&,).%
$%6)#%&/2
#/..%#4%$&)2%
!,!2-0!.%,
42!.3-)4
/54
,4
#/-
%84!5$)/
6$#
4/$%4%#4)/.:/.%/&#/..%#4%$
&)2%!,!2-0!.%,4/"%53%$4/
!..5.#)!4%4%,%0(/.%42/5",%
42/5",%
4%,%0(/.%#)2#5)4
,!-04%34
4/,!-04%344%2-).!,/.1-0"
/21-0"!5$)/#/.42/,-/$5,%
4/%84!5$)/4%2-).!,/.1-0"
/21-0"!5$)/#/.42/,-/$5,%
./453%$
&2/-1-0"OR1-0"
6$#0/7%2
1-4!OR1-4
OR!7'/.,9
4/1-0"OR1-0"

Table of Contents

Other manuals for Mircom QX-5000 Series

Related product manuals