EasyManua.ls Logo

Mitsubishi Fuso Canter 2013

Mitsubishi Fuso Canter 2013
463 pages
To Next Page IconTo Next Page
To Next Page IconTo Next Page
To Previous Page IconTo Previous Page
To Previous Page IconTo Previous Page
Loading...
9-9
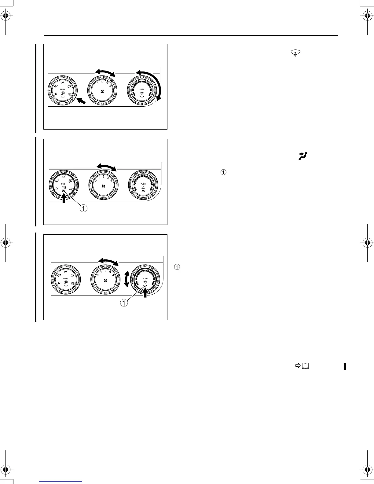
2.3 To defog the windshield
Place the mode selector dial in the position. If
you wish to defog the windshield quickly, use the
fan speed dial to select the maximum fan speed
and use the temperature adjustment dial to select
the maximum temperature.
2.4 To ventilate the cab
Press the air selector switch to select outside air,
and place the mode selector dial in the position.
When the mode switches to air recirculation, the
indicator lamp in the switch goes out.
2.5 To cool the cab
Press the air conditioner switch to activate the air
conditioner, then use the temperature control dial to
set a comfortable temperature. The indicator lamp
will be illuminated while the air conditioner is
operating.
3 Cleaning the air filter
Clean the air filter every 6 months.
A dust clogged air filter may cause a poor air condi-
tioning performance and blower motor malfunction.
P. 1 2 - 8 7
Z22325
Z22327
Z22328
FE_FG.book Page 9 Monday, December 19, 2011 4:22 PM

Table of Contents

Related product manuals