EasyManua.ls Logo

Mitsubishi Fuso Canter 2013

Mitsubishi Fuso Canter 2013
463 pages
To Next Page IconTo Next Page
To Next Page IconTo Next Page
To Previous Page IconTo Previous Page
To Previous Page IconTo Previous Page
Loading...
12-86 Simple inspection and service
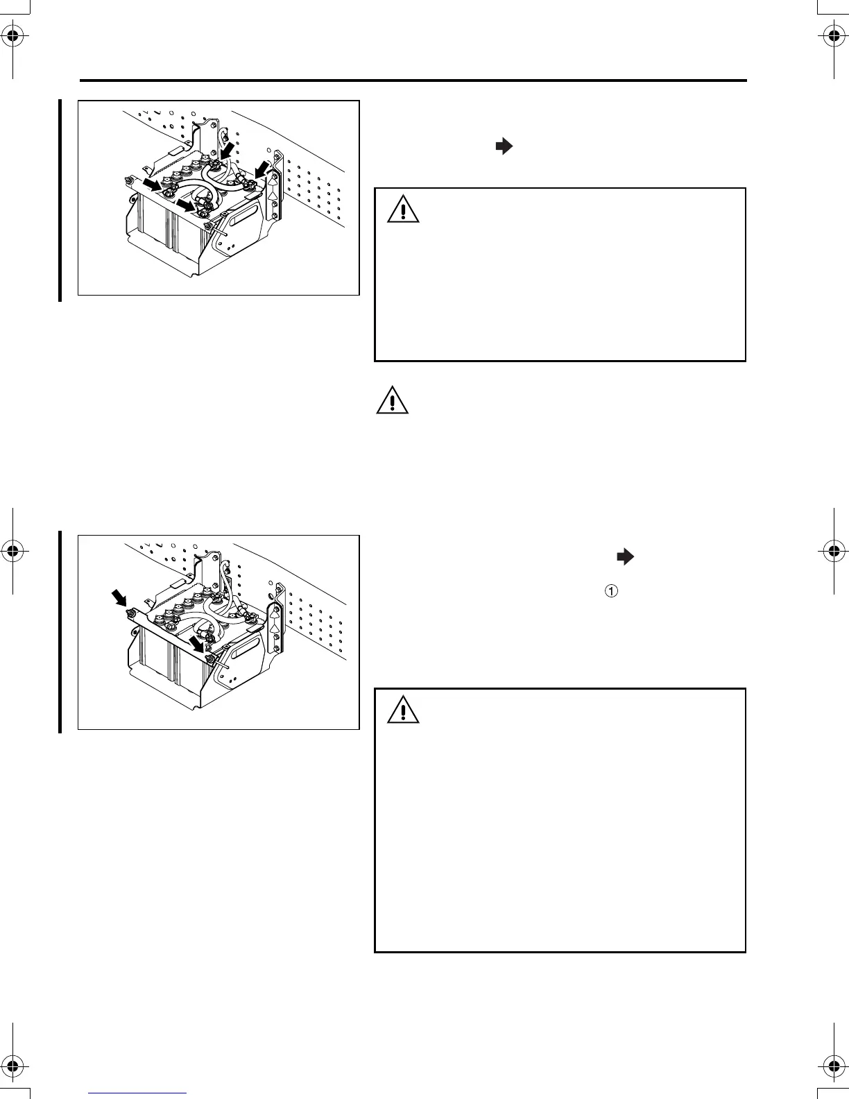
4 Battery removal and installation
1. Disconnect the battery cables (each indicated
by an arrow in the illustration) from the bat-
tery terminals.
CAUTION
The BlueTec
®
exhaust gas aftertreatment con-
tinues to work for 2 minutes even after the
starter switch is turned to “LOCK”. Wait for at
least 2 minutes after shutting off the engine
before disconnecting the battery.
2. Remove the battery support mounting nuts
(each indicated by an arrow in the illustra-
tion).
3. Remove the battery support , then remove the
battery.
4. Install the battery by performing these steps in
reverse. After installing the battery, make sure it
is securely retained.
WARNING
When disconnecting the battery cables, dis-
connect the (–) cable first. When connecting
the battery cables, connect the (–) cable last.
If you accidentally touched the (+) terminal
and the vehicle body with a tool with the (–)
cable connected to the battery, a dangerous
short circuit could occur.
WARNING
Be sure to observe the following instructions
when storing a battery.
Select a storage place where the battery
fluid will not freeze.
The storage place must be free of any heat
source and well ventilated.
The battery must be kept out of reach of
children.
The battery must be placed with the termi-
nals facing upward. Do not place the bat-
tery on its side. Doing so could cause
battery fluid leakage and a fire.
Z22251
Z22252
FE_FG.book Page 86 Monday, December 19, 2011 4:22 PM

Table of Contents

Related product manuals