EasyManua.ls Logo

Mitsubishi Fuso Canter 2013

Mitsubishi Fuso Canter 2013
463 pages
To Next Page IconTo Next Page
To Next Page IconTo Next Page
To Previous Page IconTo Previous Page
To Previous Page IconTo Previous Page
Loading...
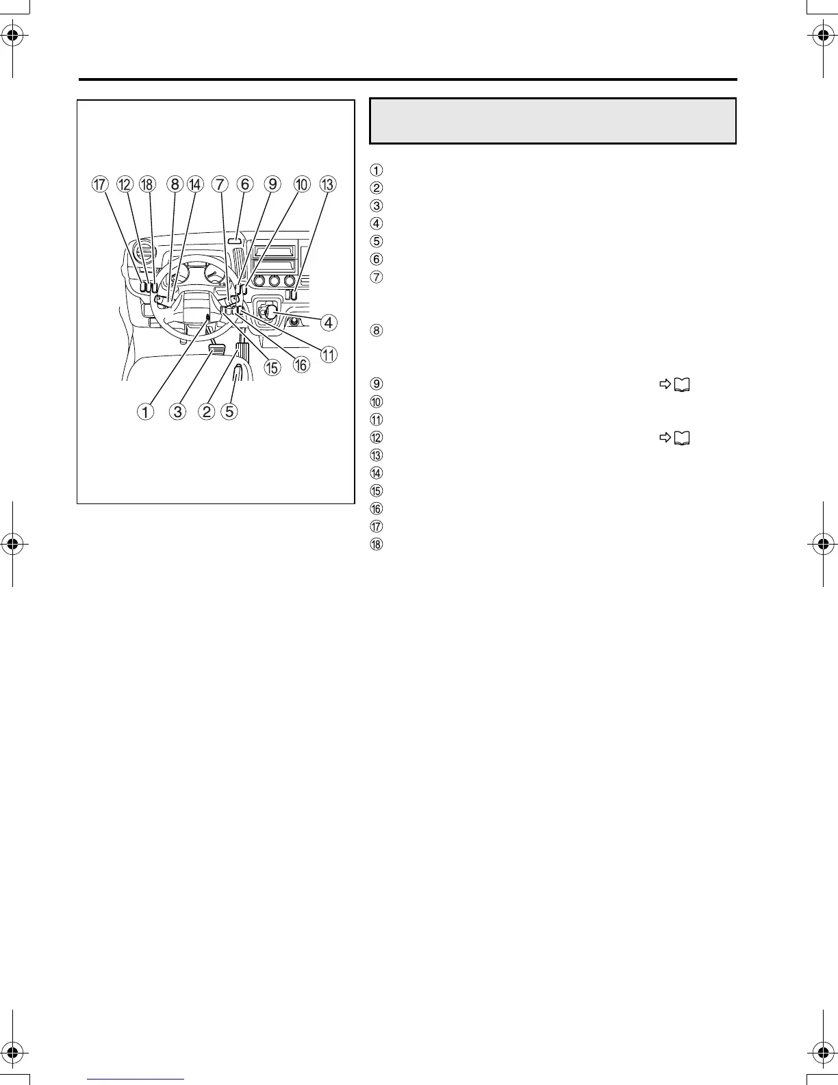
5-2 Switches and controls
Starter switch
Accelerator pedal
Brake pedal
Gearshift lever
Parking brake lever
Hazard warning lamp switch
Combination switch
(wiper and washer switch, exhaust brake switch
<option>)
Combination switch
(lighting switch, passing/dimmer switch, turn sig-
nal switch)
Front drive switch <FG> P. 8-3
ECO mode switch
DPF cleaning switch
Central door lock switch P. 3-8
Cruise control main switch
Cruise control SET/RESUME switch
Van body dome light switch
Mirror heater switch <option>
Power take-off switch <option>
Front fog lamp switch <option>
Arrangement of switches and
controls
Z21340
FE_FG.book Page 2 Monday, December 19, 2011 4:22 PM

Table of Contents

Related product manuals