EasyManua.ls Logo

Mitsubishi Fuso Canter 2013

Mitsubishi Fuso Canter 2013
463 pages
To Next Page IconTo Next Page
To Next Page IconTo Next Page
To Previous Page IconTo Previous Page
To Previous Page IconTo Previous Page
Loading...
9-10 Heating and air conditioning
CAUTION
To protect the environment, your vehicle’s air conditioning system uses refrigerant
HFC-134a which does not harm the ozone layer.
Since charging the system with this refrigerant requires a method different from the
conventional method, be sure to contact your nearest authorized dealer if your system
needs to be serviced.
NOTE:
Coolant from the engine is used in the heating unit. If the level of coolant is low, the unit
will be unable to generate warm air when required.
Do not release refrigerant into the atmosphere. When necessary because of servicing or
scrapping of the vehicle, consult the nearest authorized dealer in order to have the refrig-
erant properly removed.
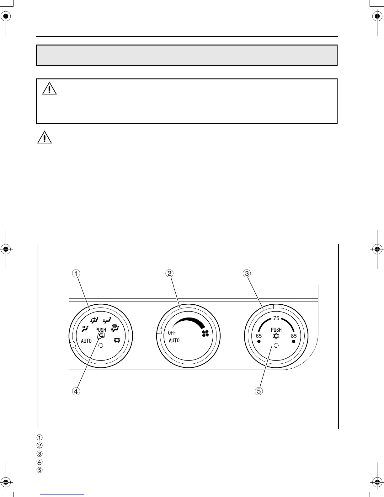
Air outlet selector dial
Air volume adjustment dial
Temperature adjustment dial
Air selector switch
Air conditioner switch
Fully automatic air conditioner
WARNING
Never leave children alone in the vehicle. If the air conditioner stops for some rea-
son or other, the temperature inside the vehicle will rise, and can cause heat stroke,
for example.
Z21372
FE_FG.book Page 10 Monday, December 19, 2011 4:22 PM

Table of Contents

Related product manuals