EasyManua.ls Logo

MPI 40 Series - Page 24

Default Icon
102 pages
Print Icon
To Next Page IconTo Next Page
To Next Page IconTo Next Page
To Previous Page IconTo Previous Page
To Previous Page IconTo Previous Page
Loading...
1
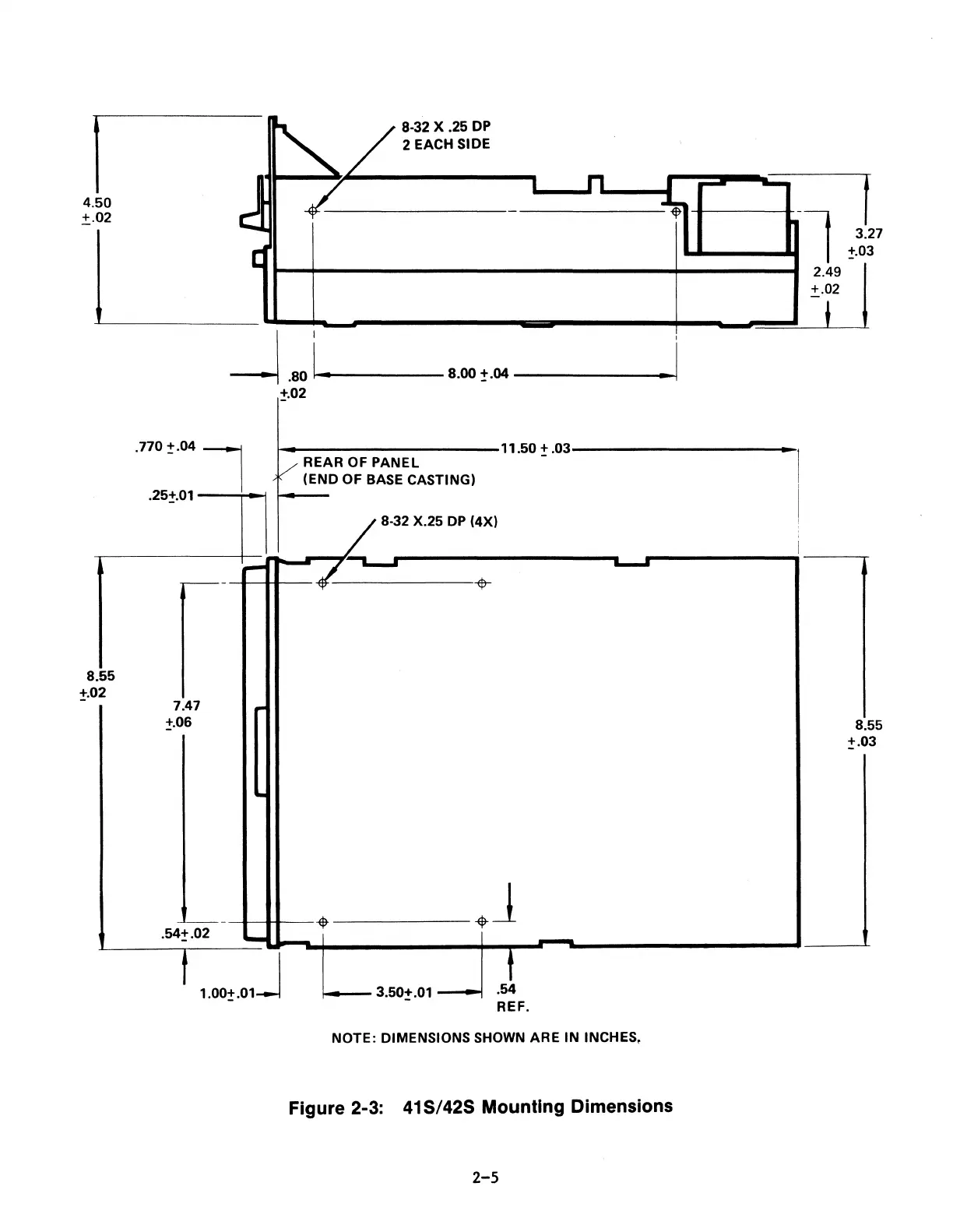
4.50
±_.02
8.55
:t.02
7.47
:t.06
8-32 X .25
DP
2 EACH SIDE
-1
.BO
~I
------
8.00
:!"·04
--------
±.02
~----------11.50
±.03-----------
REAR
OF
PANEL
(END OF BASE CASTING)
8-32 X.25
DP
(4X)
___
.l
i--
3.50±.01 .54
REF.
NOTE: DIMENSIONS
SHOWN
ARE IN INCHES,
Figure 2-3: 41S/42S Mounting Dimensions
2-5
8.55
:t.03

Table of Contents