EasyManua.ls Logo

OEM DOME - Électrique

OEM DOME
Print Icon
To Next Page IconTo Next Page
To Next Page IconTo Next Page
To Previous Page IconTo Previous Page
To Previous Page IconTo Previous Page
Loading...
FR - 32
DOME
Entretien
6.1.d - Interventions d’entretien selon necessite
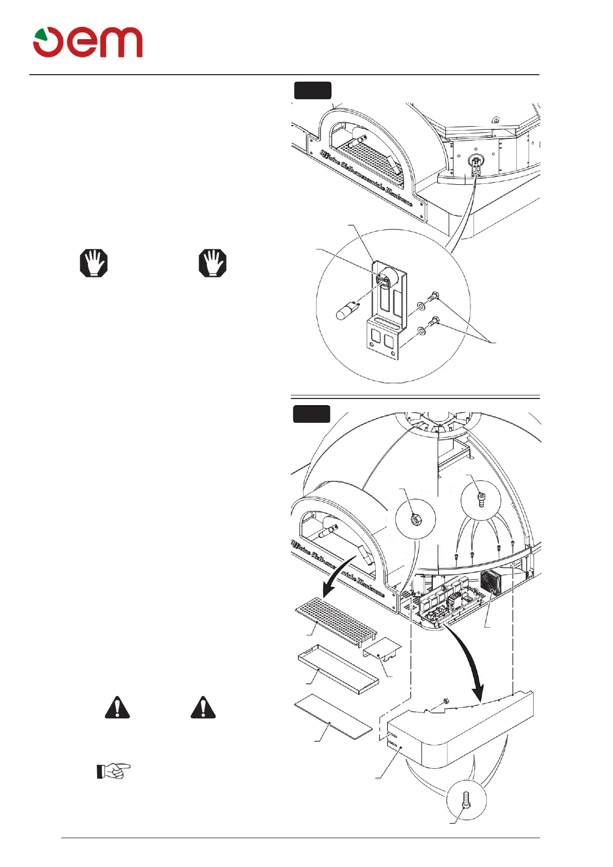
6.1.d.a - Remplacement lampe (Fig. 4)
Enlever la pierre en correspondance de l’ampoule
brûlée, pour démonter les pierres voir le paragraphe
ci-dessus sur le soulèvement du four.
Dévisser les deux vis (1) et enlever la pièce (2) qui
inclut le douille porte-ampoule (3).
Enlever l’ampoule brûlée et la remplacer avec une
nouvelle ampoule, ensuite remonter tout dans le sens
inverse par rapport à celui du montage.
ATTENZIONE
La lampe est halogène; NE PAS la toucher
par vos doigts.
6.1.d.b - Nettoyage du ventilateur de refroidisse-
ment du tableau électrique (Fig. 5)
Si le four montre sur l’écran l’alarme
«SURTEMPÉRATURE DU COMPARTIMENT
TECHNIQUE / CARTE DE PUISSANCE» il faut
nettoyer le ventilateur de refroidissement du tableau
électrique:
Enlever la pierre en correspondance du ventilateur,
pour le démontage des pierres voir le paragraphe
ci-dessus sur le soulèvement du four.
Dévisser les vis (1).
Dévisser les vis (2).
Enlever la grille (3) et le ramasse-miettes (4).
Enlever le couvercle (5) et la tôle (6).
Desserrer les deux écrous (7).
Enlever le panneau (8).
En utilisant de l’air comprimé, enlever la saleté accu-
mulée sur le ventilateur (9).
DANGER
S'assurer qu'il n'y a pas de tension à l'inté-
rieur du tableau électrique.
IMPORTANT
Si le four présente à nouveau l’alarme
appeler le service d’assistance technique.
FIG. 4
2
3
1
FIG. 5
1
7
3
9
4
5
6
8
2

Table of Contents

Related product manuals