EasyManua.ls Logo

OEM DOME - D - Interventi DI Manutenzione Secondo Necessità

OEM DOME
Print Icon
To Next Page IconTo Next Page
To Next Page IconTo Next Page
To Previous Page IconTo Previous Page
To Previous Page IconTo Previous Page
Loading...
DOME
Manutenzione
IT - 32
6.1.d - interventi di manutenzione secondo neces-
sità
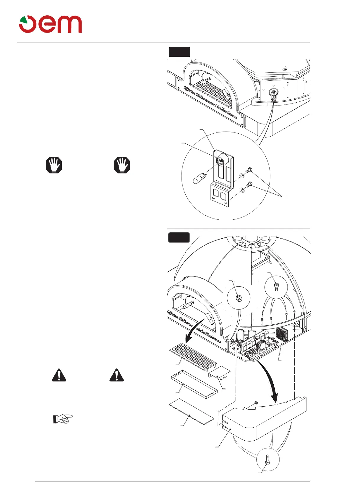
6.1.d.a - Sostituzione lampada (Fig. 4)
Rimuovere la pietra in corrispondenza della lampa-
dina bruciata, per la procedura di smontaggio pietre
vedi paragrafo sollevamento forno.
Svitare le due viti (1) e sfilare la squadretta (2) con
il portalampada (3).
Rimuovere la lampadina bruciata e sostituirla con
una nuova, quindi rimontare il tutto procedendo
inversamente allo smontaggio.
ATTENZIONE
La lampada è alogena; NON toccare con
le
dita.
6.1.d.b - Pulizia della ventola di raffreddamento del
quadro elettrico (Fig. 5)
Nel caso in cui il forno mostri sul display l'allarme "SO-
VRATEMPERATURA VANO TECNICO/SCHEDA DI
POTENZA" bisogna provvedere alla pulizia della ventola
di raffreddamento del quadro elettrico:
Rimuovere la pietra in corrispondenza della ventola,
per la procedura di smontaggio pietre vedi paragrafo
sollevamento forno.
Svitare le viti (1).
Svitare le viti (2).
Rimuovere la griglia (3) e il raccogli briciole (4).
Rimuovere il coperchio (5) e la lamiera (6).
Allentare i due dadi (7).
Sfilare il pannello (8).
Utilizzando aria compressa provvedere alla rimozione
dello sporco depositatosi sulla ventolina (9).
PERICOLO
Accertarsi che non vi sia presenza di ten-
sione all'interno del quadro elettrico
IMPORTANTE
Nel caso in cui il forno ripresentasse l'allar-
me chiamare il servizio di assistenza tecnica.
FIG. 4
2
3
1
FIG. 5
1
7
3
9
4
5
6
8
2

Table of Contents

Related product manuals