EasyManua.ls Logo

OEM DOME - D - Instandhaltung nach Bedarf

OEM DOME
Print Icon
To Next Page IconTo Next Page
To Next Page IconTo Next Page
To Previous Page IconTo Previous Page
To Previous Page IconTo Previous Page
Loading...
DE - 32
DOME
Instandhaltung
FIG.
FIG.
1
5
FIG.
FIG.
1
4
6.1.d - Instandhaltung nach Bedarf
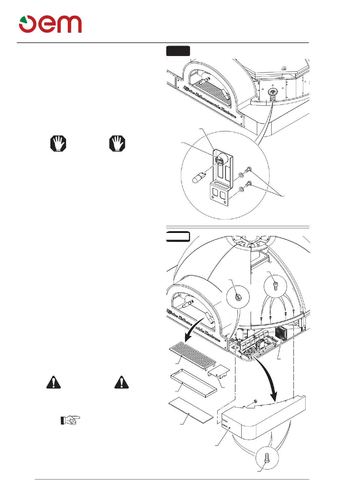
6.1.d.a - Lampe - Ersatzverfahren (Abb. 4)
Stein an der verbrannte Glühbirne entfernen, für die
Demontage der Steine siehe Ofenhub Abschnitt.
Schrauben Sie die beiden Schrauben (1) ab und
ziehen Sie die Schraube (2) mit der Fassung (3).
Entfernen Sie die verbrannte Glühbirne und ersetzen
Sie diese durch eine neue Glühbirne und dann setzen
Sie wieder zusammen.
ACHTUNG
Halogenlampe: mit den Fingern NICHT an-
fassen.
6.1.d.b - einigung des Kühllüfters der elektrischen
Schalttafel (Abb 5)
Falls auf dem Bildschirm des Backofens der Schriftzug
„ÜBERTEMPERATUR IM TECHNISCHEN FACH/DER
LEISTUNGSPLATINE“ erscheint, ist der Kühllüfter der
elektrischen Schalttafel zu reinigen:
Stein an dem Lüfter entfernen, für die Demontage
der Steine siehe Ofen ≤hub Abschnitt.
Schrauben lösen (1).
Schrauben lösen (2).
Gitter (3) und Krümelbehälter (4) entfernen.
Deckel (5) und Blech (6) entfernen.
Beide Schraubenmuttern lockern (7).
Platte abziehen (8).
Entfernen Sie mit Druckluft den abgelagerten Schmutz
am Lüfter (9).
GEFAHRLAGE
Sicherstellen, dass im Schaltschrank keine
Spannung anliegt.
WICHTIG
Bei erneuter Störungsmeldung ist das
technische Wartungsdienstpersonal zu
kontaktieren.
ABB. 4
2
3
1
ABB. 5
1
7
3
9
4
5
6
8
2

Table of Contents

Related product manuals