EasyManua.ls Logo

Oki MICROLINE 591Elite - Page 119

Oki MICROLINE 591Elite
126 pages
Print Icon
To Next Page IconTo Next Page
To Next Page IconTo Next Page
To Previous Page IconTo Previous Page
To Previous Page IconTo Previous Page
Loading...
C – 6
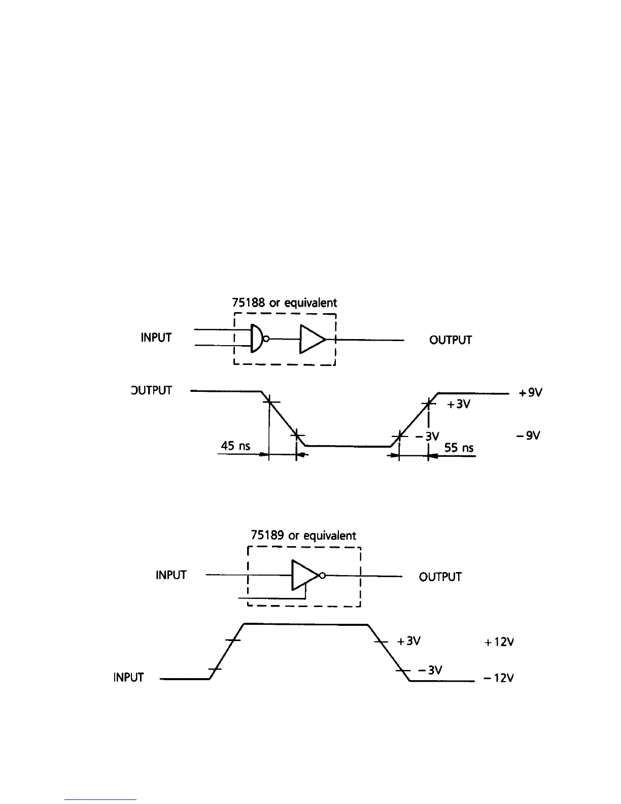
Signal levels
RS-232C interface signal levels are as specified below, and meet EIA Standard RS-
232C.
- 15 to - 3V : LOW = OFF = LOGIC “ 1 ”
+ 15 to + 3V: HIGH = ON= LOGIC “ 0 ”
Circuit
(1) Driver
(2) Receiver

Table of Contents

Related product manuals