EasyManua.ls Logo

Olympus CAMEDIA E-100RS - How to Use the Menu

Olympus CAMEDIA E-100RS
220 pages
Print Icon
To Next Page IconTo Next Page
To Next Page IconTo Next Page
To Previous Page IconTo Previous Page
To Previous Page IconTo Previous Page
Loading...
48
1
How to use the menu
Most functions can be easily displayed and set with the menu on the Monitor.
Adjustments to the mode dial will determine available menu selections.
Modes not available on the menu can be set with the corresponding buttons
on the camera.
1
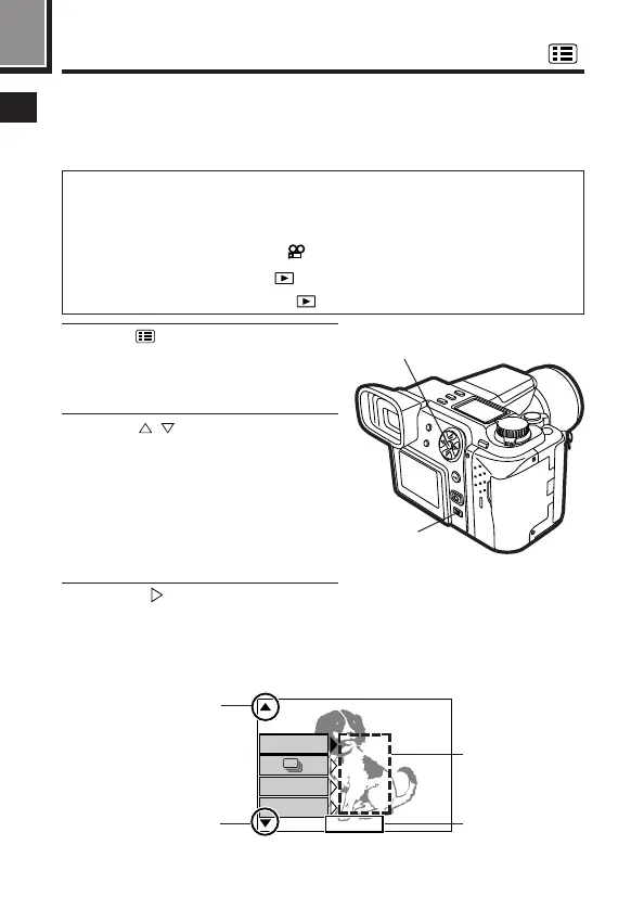
Press (Menu button).
The menu is super-imposed over
the image already displayed on the
viewfinder or monitor.
2
Press on the Arrow pad to
select the item you want to adjust.
The green frame will move from
item to item.
To select the following items, read
these pages;
BKT: P. 00 to 00, MODE SETUP:
P. 00 to 00, WB: P. 00 to 00
3
Press to display further
selections.
The green frame will move to the
right. Additional options for that
item will be displayed.
Refer to the menu index (P.48 - 53) and select the function you need.
Functions that can be set by the mode dial are listed below.
Still picture record menu: P, A, S, M, S-Prg
Motion picture record menu:
Still picture display menu:
Motion picture display menu:
1
2, 3
Monitor
Scroll
Scroll
Current settings
1/5 page

Table of Contents

Other manuals for Olympus CAMEDIA E-100RS

Related product manuals