EasyManua.ls Logo

Omron CJ - PROGRAMMING MANUAL 12-2009 - Page 88

Omron CJ - PROGRAMMING MANUAL 12-2009
448 pages
Print Icon
To Next Page IconTo Next Page
To Next Page IconTo Next Page
To Previous Page IconTo Previous Page
To Previous Page IconTo Previous Page
Loading...
48
Basic Concepts Section 2-1
5. Output bits can also be used as input bits.
Restrictions
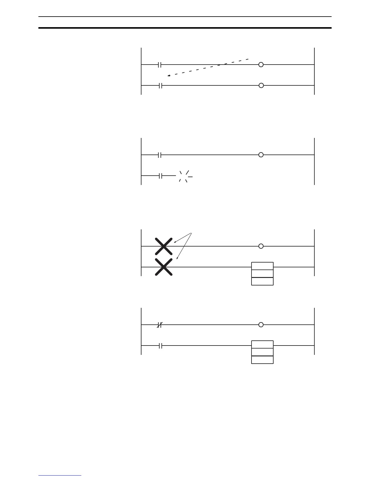
1,2,3... 1. A ladder program must be closed so that signals (power flow) will flow from
the left bus bar to the right bus bar. A rung error will occur if the program is
not closed (but the program can be executed).
2. Output bits, timers, counters and other output instructions cannot be con-
nected directly to the left bus bar. If one is connected directly to the left bus
bar, a rung error will occur during the programming check by a Program-
ming Device. (The program can be executed, but the OUT and MOV(021)
will not be executed.)
Insert an unused N.C. work bit or the ON Condition Flag (Always ON Flag) if
the input must be kept ON at all times.
0002
00
0002
00
MOV
Input condition must be provided.
MOV
ON (Always ON Flag)
Unused work bit

Table of Contents

Related product manuals