EasyManua.ls Logo

Omron SYSMAC FH Series - Page 206

Omron SYSMAC FH Series
260 pages
Print Icon
To Next Page IconTo Next Page
To Next Page IconTo Next Page
To Previous Page IconTo Previous Page
To Previous Page IconTo Previous Page
Loading...
6 I/O Interface
6 - 8
Vision System FH/FZ5 series Hardware Setup Manual (Z366)
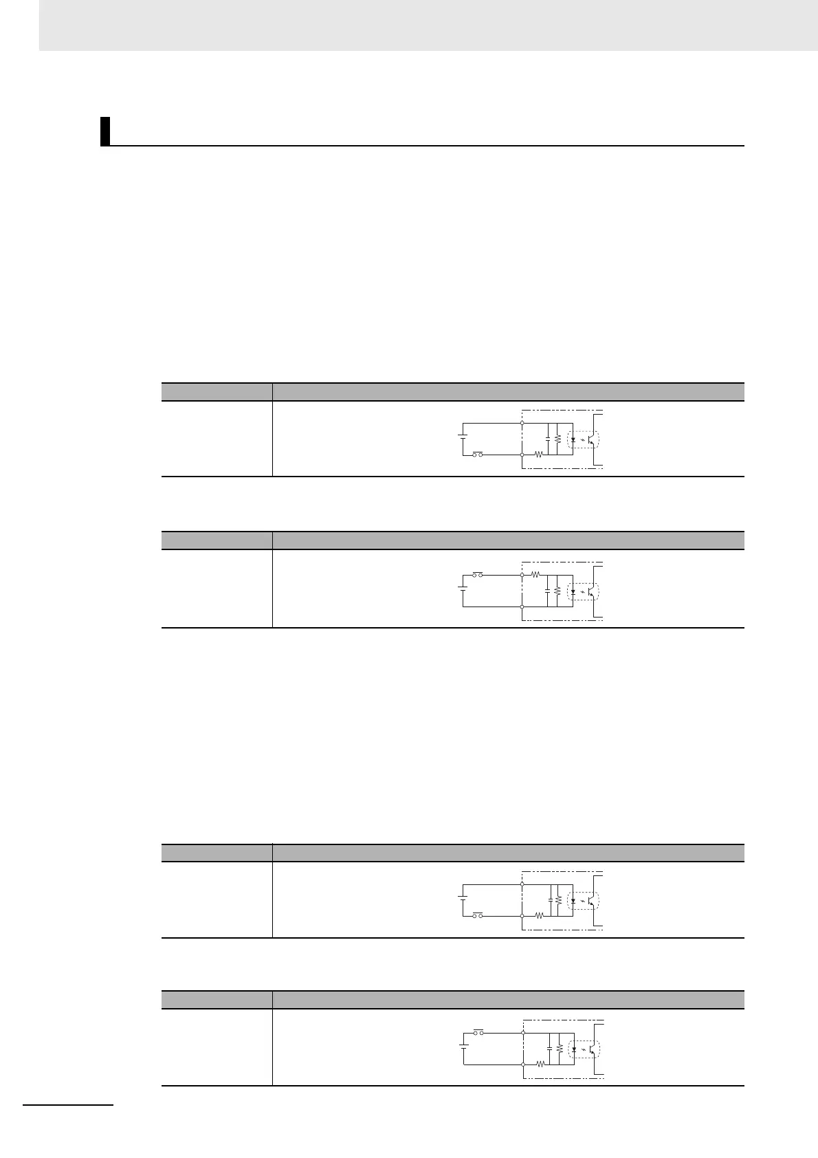
Parallel interface is NPN/PNP in common. An appropriate wiring is required according on the external
device.
[Input]
Applicable signals/
No.14 pin:
Connect COMIN1 terminal, when you use this signal.
No.37 to 46 pins:
Connect the COMIN2 terminal wh
en using these signals.
a) Internal Specification for NPN Connection
b) Internal Specification for PNP Connection
[Input]
Applicable signals/
No.4 to 6, 9 to 11 pins:
Connect the COMIN1 terminal wh
en using these signals.
No.7, 8, 12, 13 pins:
Connect the COMIN0 terminal wh
en using these signals.
a) Internal Specification for NPN Connection
b) Internal Specification for PNP Connection
Internal Specifications for Parallel Interface
Item Specifications
Internal circuit
di
agram
Item Specifications
Internal circuit
di
agram
Item Specifications
Internal circuit
diagram
Item Specifications
Internal circuit
di
agram
COM IN
+
Each input terminal
COM IN
+
Each input terminal
COM IN
+
Each input terminal
COM IN
+
Each input terminal

Table of Contents

Other manuals for Omron SYSMAC FH Series

Related product manuals