EasyManua.ls Logo

Onkyo NC-500 - Configuring DNS Addresses (DNS1, DNS2)

Onkyo NC-500
76 pages
Print Icon
To Next Page IconTo Next Page
To Next Page IconTo Next Page
To Previous Page IconTo Previous Page
To Previous Page IconTo Previous Page
Loading...
60
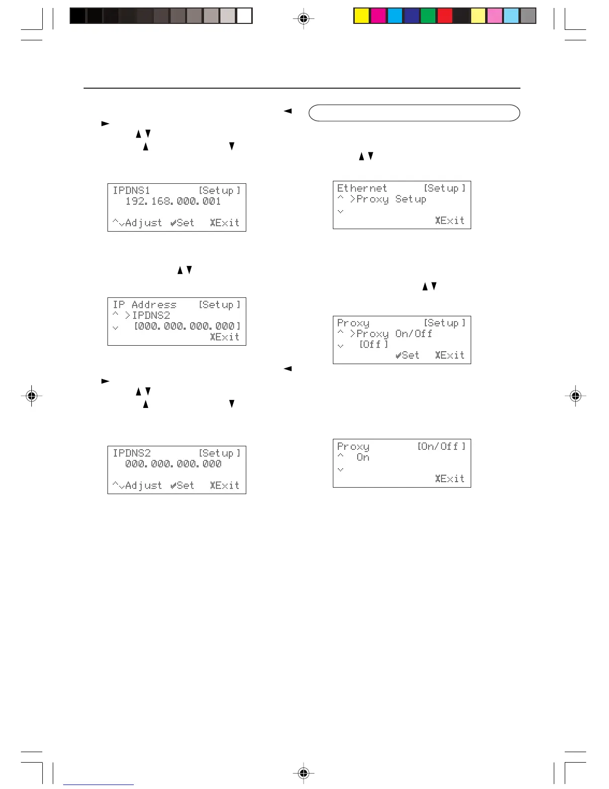
Enter the DNS1 address using the Cursor /
button to select the digit to change and the
Cursor / button to change the number.
Press the
to increment and to decrement
the number. Then press the SELECT button
to confirm the new setting.
From the System Ethernet Settings
IP Address setup menu, select IP DNS2
using the Cursor
/ button. Then press the
SELECT button.
Enter the DNS2 address using the Cursor
/
button to select the digit to change and the
Cursor
/ button to change the number.
Press the to increment and to decrement
the number. Then press the SELECT button
to confirm the new setting.
Configuring Various Settings
Proxy settings:
From the System Ethernet Settings
setup menu, select Proxy Setup using the
Cursor
/ button. Then press the SELECT
button.
Turning On/Off Proxy
From the System Ethernet Settings
Proxy Setup setup menu, select Proxy On/
Off using the Cursor
/ button. Then press
the SELECT button.
When you use the proxy server for security
enhancement, set this setting to On to
specify the Port No. and URL. When you do
not use the proxy server, set this setting to
Off.

Table of Contents

Other manuals for Onkyo NC-500

Related product manuals