EasyManua.ls Logo

Panasonic SA-AKX10PH - Disassembly of Main P.C.B.

Panasonic SA-AKX10PH
114 pages
Print Icon
To Next Page IconTo Next Page
To Next Page IconTo Next Page
To Previous Page IconTo Previous Page
To Previous Page IconTo Previous Page
Loading...
39
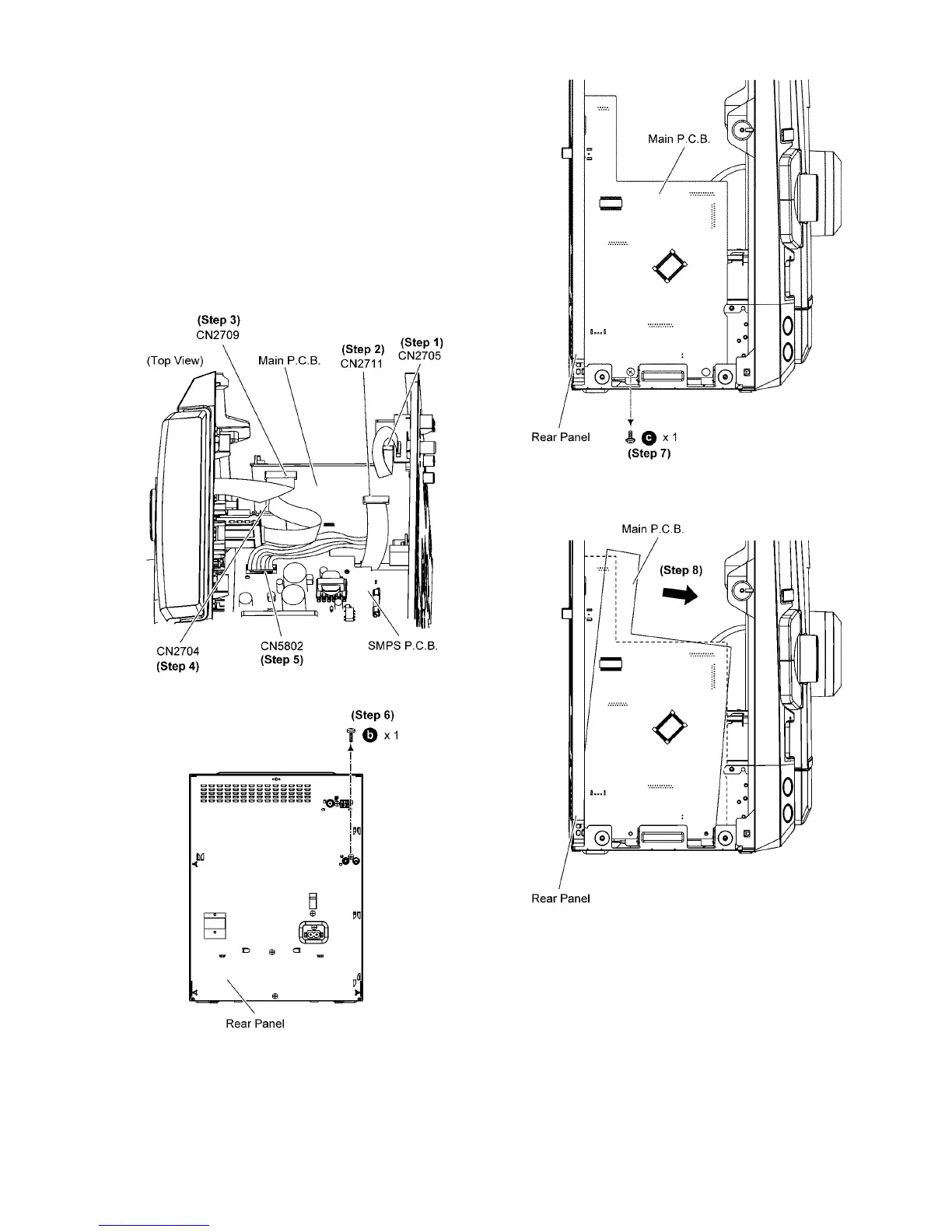
9.11. Disassembly of Main P.C.B.
Refer to “Disassembly of Top Cabinet”.
Step 1 Detach 9P FFC at the connector (CN2705) on Main
P. C. B ..
Step 2 Detach 12P FFC at the connector (CN2711) on Main
P. C. B ..
Step 3 Detach 17P FFC at the connecter (CN2709) on Main
P. C. B ..
Step 4 Detach 22P FFC at the connecter (CN2704) on Main
P. C. B ..
Step 5 Detach 11P Cable at the connector (CN5802) on SMPS
P. C. B ..
Step 6 Remove 1 screw.
Step 7 Remove 1 screw.
Step 8 Detach Main P.C.B. from Rear Panel according to arrow
shown.

Table of Contents

Related product manuals