EasyManua.ls Logo

Ricoh D037 - 2 Detailed Section Descriptions; Component Layout; Mechanical Component Layout

Ricoh D037
1171 pages
Print Icon
To Next Page IconTo Next Page
To Next Page IconTo Next Page
To Previous Page IconTo Previous Page
To Previous Page IconTo Previous Page
Loading...
Component Layout
SM 9 D331
Paper Tray
Unit PB3030
D331
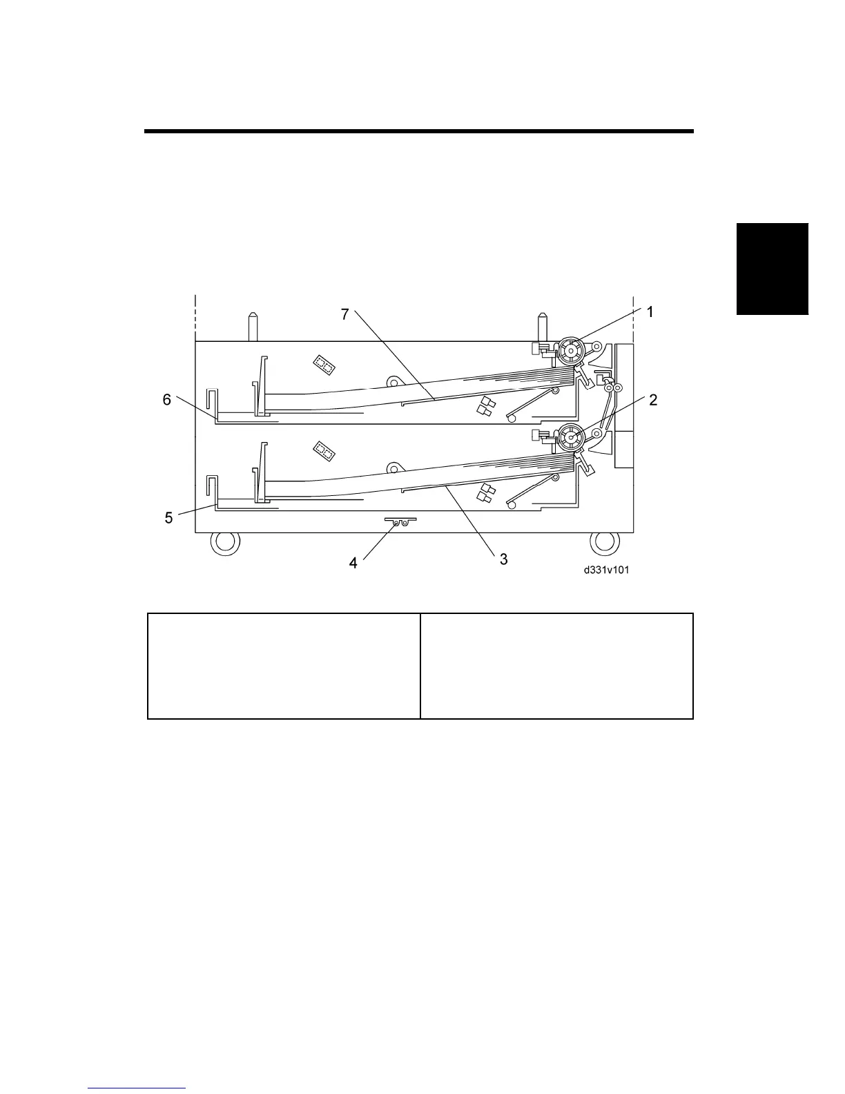
2. DETAILED SECTION DESCRIPTIONS
2.1 COMPONENT LAYOUT
2.1.1 MECHANICAL COMPONENT LAYOUT
1. Upper paper feed roller
2. Lower paper feed roller
3. Lower bottom plate
4. Optional tray heater
5. Lower tray
6. Upper tray
7. Upper bottom plate

Table of Contents

Related product manuals