EasyManua.ls Logo

Robinsons R66 - 79-00 Description

Robinsons R66
654 pages
Print Icon
To Next Page IconTo Next Page
To Next Page IconTo Next Page
To Previous Page IconTo Previous Page
To Previous Page IconTo Previous Page
Loading...
CHAPTER 79
ENGINE OIL SYSTEM
79-00 Description
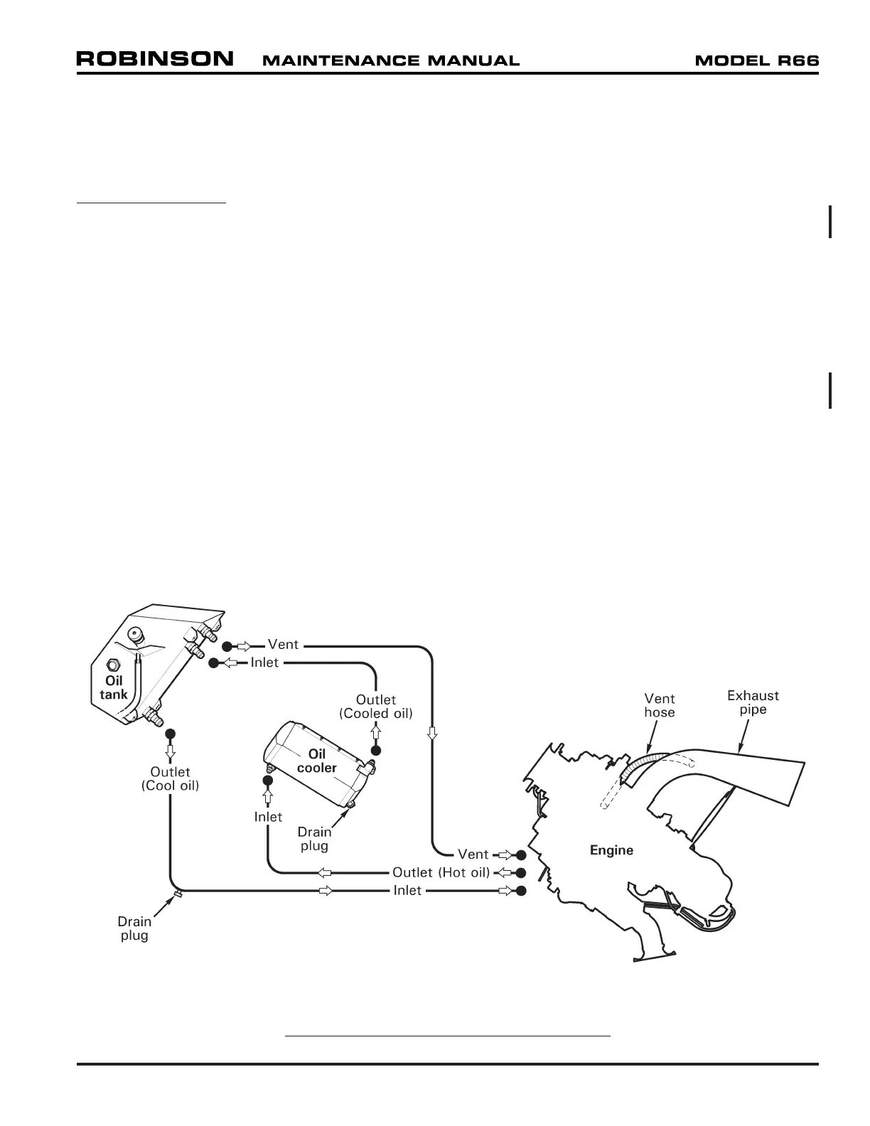
The R66 helicopter has a dry-sump engine oil system. Oil is stored in a remote tank located in
the main rotor gearbox compartment. Refer to Section 12-60 for oil servicing instructions. A
Rolls-Royce-supplied oil temperature sender is mounted on the inboard side of the oil tank.
Oil circulates through the engine oil system via three oil delivery lines. Refer to Figure 79-1.
Cool oil exits the oil tank and enters the engine, hot oil exits the engine and enters the engine
oil cooler, and cooled oil exits the oil cooler and returns to the oil tank. An oil tank vent line is
plumbed to the engine accessory gearbox, which is vented to the exhaust pipe.
The engine oil cooler has an internal thermostat and pressure relief valve. The thermostat
maintains normal system operating pressure by allowing cool oil to bypass the heat exchanger
and return to the oil tank. Higher than normal system pressure will open a pressure relief valve.
When draining the oil system, residual oil is trapped in the bottom corner of the oil cooler due
to the oil cooler installation angle in the R66. An oil cooler drain plug allows the technician to
drain trapped oil during servicing.
The engine oil system includes an oil pump, oil lter and regulating valve, an oil sump tank, a
check valve, and two magnetic plug inserts. Refer to RR300 OMM for a complete description
of the engine oil system.
FIGURE 79-1 ENGINE OIL SYSTEM SCHEMATIC
SEP 2012 R66 Maintenance Manual Chapter 79 Engine Oil System Page 79.1

Table of Contents