EasyManua.ls Logo

Robinsons R66 - 98-17 Aspen EFD500 H & EFD1000 H Displays Installation

Robinsons R66
654 pages
Print Icon
To Next Page IconTo Next Page
To Next Page IconTo Next Page
To Previous Page IconTo Previous Page
To Previous Page IconTo Previous Page
Loading...
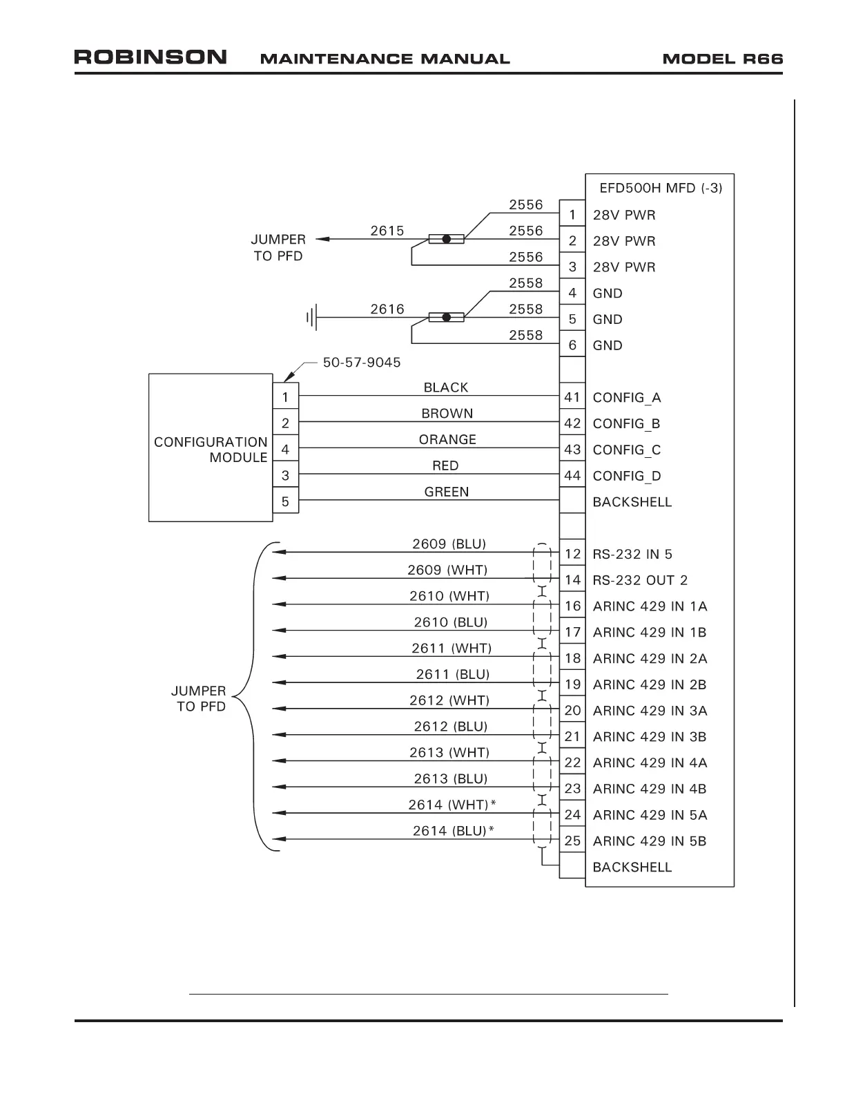
MAY 2015 Chapter 98 Wiring Diagrams Page 98.31
FIGURE 98-17 ASPEN EFD500H & EFD1000H DISPLAYS INSTALLATION
* Connect to GTX 330 Traffic (TIS-A) only if no other traffic system installed (i.e. GDL 88 [TIS-B]).

Table of Contents