EasyManua.ls Logo

SEW-Eurodrive IPOS plus - Type 5: no Reference Travel; Type 6: Reference Cam Flush with CW Limit Switch

SEW-Eurodrive IPOS plus
384 pages
Print Icon
To Next Page IconTo Next Page
To Next Page IconTo Next Page
To Previous Page IconTo Previous Page
To Previous Page IconTo Previous Page
Loading...
70
Manual – IPOSplus®
6
Referencing
Position Detection and Positioning
If the reference travel is started via the IPOS
plus®
command Go0, you have to set the
argument "ZP".
6.6.6 Type 5: No reference travel
The reference position is the current position. The arguments in the IPOS
plus®
com-
mand Go0"ZP" or "CAM" and P904 have no effect.
It makes sense to use this type of reference travel with absolute encoders and for drives
that are to be referenced at standstill. For example, the position of a feed axis can be
set to zero when the drive is at a standstill. In this way, the machine operator can tell
where the drive is located within each feed movement..
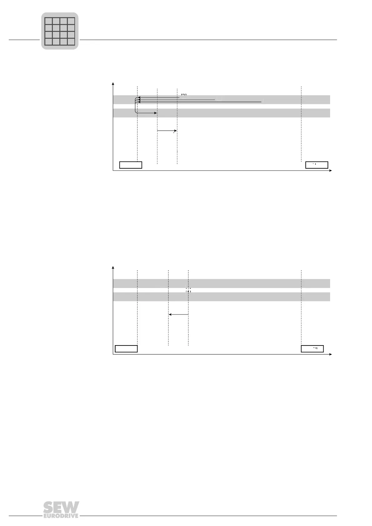
6.6.7 Type 6: Reference cam flush with CW limit switch
The reference position is the left end of the reference cam or the first zero pulse to the
left after the end of the reference cam.
One of the binary inputs P600 ... 606 must be set to "REFERENCE CAM". The reference
travel starts in CW direction with P901 reference speed 1 until the first positive edge of
the reference cam is reached. Then P902 reference speed 2 is used. As opposed to type
1, the drive starts in CW direction and reverses at the reference cam.
476760203
nRef1
nRef2
RHWLS
RHWL
LHWL
S
[3]
[3]
[
1
]
[
2
]
RefZP
MZP
Z
RefOffZP
e
P
476761739
nRef1
nRef2
LHWL
S
WLS
RHWLS
[3]
[1]
[1]
[ ]
[2]
MZP
Z
RefOffZP
Z
X
X
P
i
f
kVA
Hz
n
P
i
f
kVA
Hz
n

Table of Contents