EasyManua.ls Logo

SEW-Eurodrive IPOS plus - Page 79

SEW-Eurodrive IPOS plus
384 pages
Print Icon
To Next Page IconTo Next Page
To Next Page IconTo Next Page
To Previous Page IconTo Previous Page
To Previous Page IconTo Previous Page
Loading...
Manual – IPOSplus®
79
6
Modulo function
Position Detection and Positioning
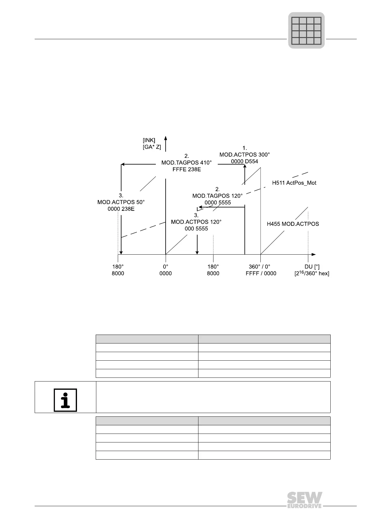
"CCW" Modulo mode "CCW" (P960=CCW)
The drive moves from the current actual position H455 MOD.ACTPOS counter-clock-
wise to the target position H454 MOD.TAGPOS.
Target position that can be represented:
H454 MOD.TAGPOS = - k × 360° + 0 ... 360° = - k × 2
16
+ 0 ... (2
16
- 1)
Only negative values are permitted in the high part. If this condition is not met and the
sign bit 2
32
is not set, the drive inverter displays the fault status (IPOS
plus®
program
error).
Parameters and
variables
Parameters and variables for the modulo function
See sections "IPOS
plus®
Parameters" and "System Variables".
477247627
Parameter no. Name
P 960, Index 8835 Modulo control
P 961, Index 8836 Modulo numerator
P 962, Index 8837 Modulo denominator
P 963, Index 8838 Modulo encoder resolution
INFORMATION
To use the modulo function, the peripheral condition of the product of modulo encoder
resolution and modulo numerator < 2
31
must be fulfilled.
Variable no. Name
H453 MODULOCTRL
H454 MOD.TAGPOS
H455 MOD.ACTPOS
H456 MODCOUNT
P
i
f
kVA
Hz
n
P
i
f
kVA
Hz
n

Table of Contents