EasyManua.ls Logo

Sharp el-9950 - Page 42

Sharp el-9950
266 pages
Print Icon
To Next Page IconTo Next Page
To Next Page IconTo Next Page
To Previous Page IconTo Previous Page
To Previous Page IconTo Previous Page
Loading...
41
Chapter 2: Operating the Graphing Calculator
G LOGIC
Use the LOGICsub-menuitemstoperformbooleanoperations.Inthe
N-basecalculationmode(binary,octal,decimalandhexadecimal),
A LOGIC will directly appear when
M
is pressed.
ThefollowingisthetruthtableofthecombinationofinputAandB:
A B
1 1
1 0
0 1
0 0
AandB
1
0
0
0
AorB
1
1
1
0
AxorB
0
1
1
0
AxnorB
1
0
0
1
A notA
1 0
0 1
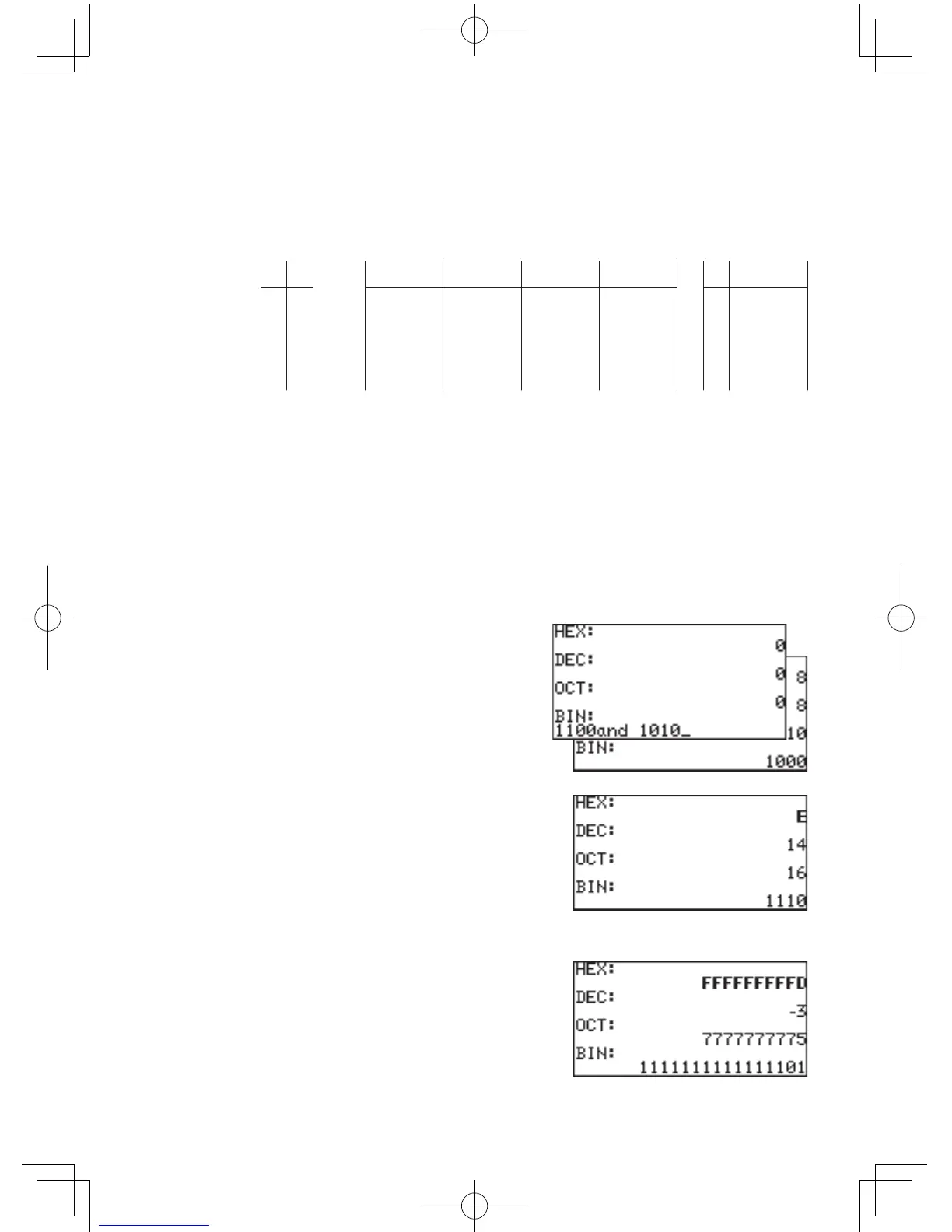
The following examples show the answer screen when
executingabooleanoperationforAND,OR,XOR,
XNORbetween“1100”and“1010”inbinarymode.
Comparetheresults(binary)totheabovetable.
1. Press
#
@
V
A
E
to enter the binary,
octal, and hexadecimal calculation mode.
2. Press
}
}
}
to select the binary mode.
1 and value A and value B
Entersan“AND”logicgure.
1100
M
1
1010
E
2 or value A or value B
Entersan“OR”logicgure.
1100
M
2
1010
E
3 not not value
Entersa“NOT”logicgure.
M
3
10
E

Table of Contents

Other manuals for Sharp el-9950

Related product manuals