EasyManua.ls Logo

Shinko PCD-33A - Page 44

Shinko PCD-33A
64 pages
Print Icon
To Next Page IconTo Next Page
To Next Page IconTo Next Page
To Previous Page IconTo Previous Page
To Previous Page IconTo Previous Page
Loading...
44
[If P, I, D, ARW values cannot be changed]
If PID auto-tuning does not finish in 4 hours after it starts, PID auto-tuning is
cancelled automatically, and P, I, D, ARW values return to the value set before the
auto-tuning was performed. In this case, set P, I, D, ARW values manually.
If PID auto-tuning is cancelled during the process, P, I, D, ARW values return to the
value set before the auto-tuning was performed.
[How to perform PID auto-tuning]
PID auto-tuning can be performed only during program control run mode.
PID auto-tuning cannot be performed during the program standby mode or during
any other control actions except for PID action.
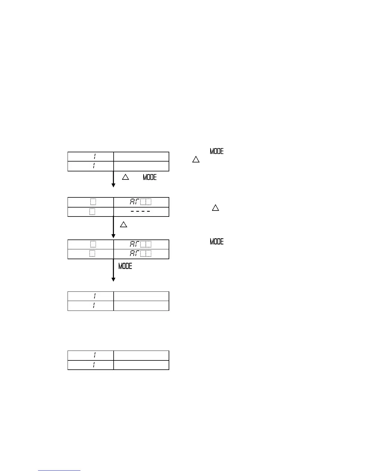
[Program control run mode]
Press the key while holding down
the key.
PID parameter setting mode is selected and
+ Auto-tuning Perform/Cancel item is selected.
[PID parameter setting mode]
AT Perform/Cancel selection
Press the key.
Press the key.
The controller reverts to the Program control
run mode, and PID auto-tuning is performed.
[Program control run mode]
[Indication during auto-tuning Perform]
PTN display : Selected program pattern number
PV display : Current actual temperature
STEP display : Current step number
SV display : Current step temperature
RUN indicator : Lit during program control run
AT indicator : Blinks during auto-tuning Perform
Other indicators : Lit or unlit according to the
controller status
PTN
PV
Actual temp.
STEP
SV
Step SV
PTN
PV
STEP
SV
PTN
PV
STEP
SV
PTN
PV
Actual temp.
STEP
SV
Step SV
PTN
PV
Actual temp.
STEP
SV
Step SV

Table of Contents

Related product manuals