EasyManua.ls Logo

Stratasys uPrint - Page 74

Stratasys uPrint
74 pages
Print Icon
To Previous Page IconTo Previous Page
To Previous Page IconTo Previous Page
Loading...
A3
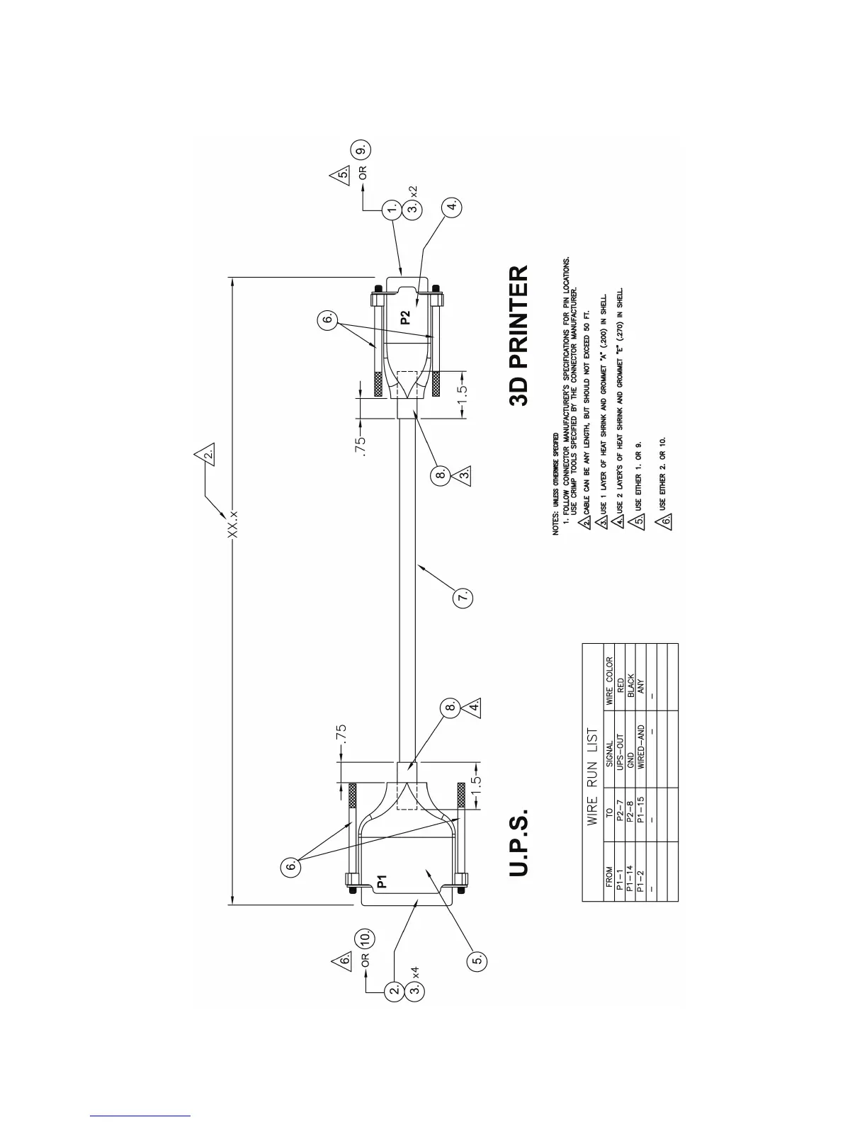
Figure 58 UPS Cable diagram

Table of Contents

Related product manuals