EasyManua.ls Logo

THRUSH S2R – G10 - Page 142

THRUSH S2R – G10
209 pages
Print Icon
To Next Page IconTo Next Page
To Next Page IconTo Next Page
To Previous Page IconTo Previous Page
To Previous Page IconTo Previous Page
Loading...
THRUSH AIRCRAFT, INC – MODEL S2R-G10
AIRCRAFT MAINTENANCE MANUAL
Effective: 03/26/2010 Page 7-25
normal installation procedure
described previously. Torque all nuts
to specification per Table 7-3.
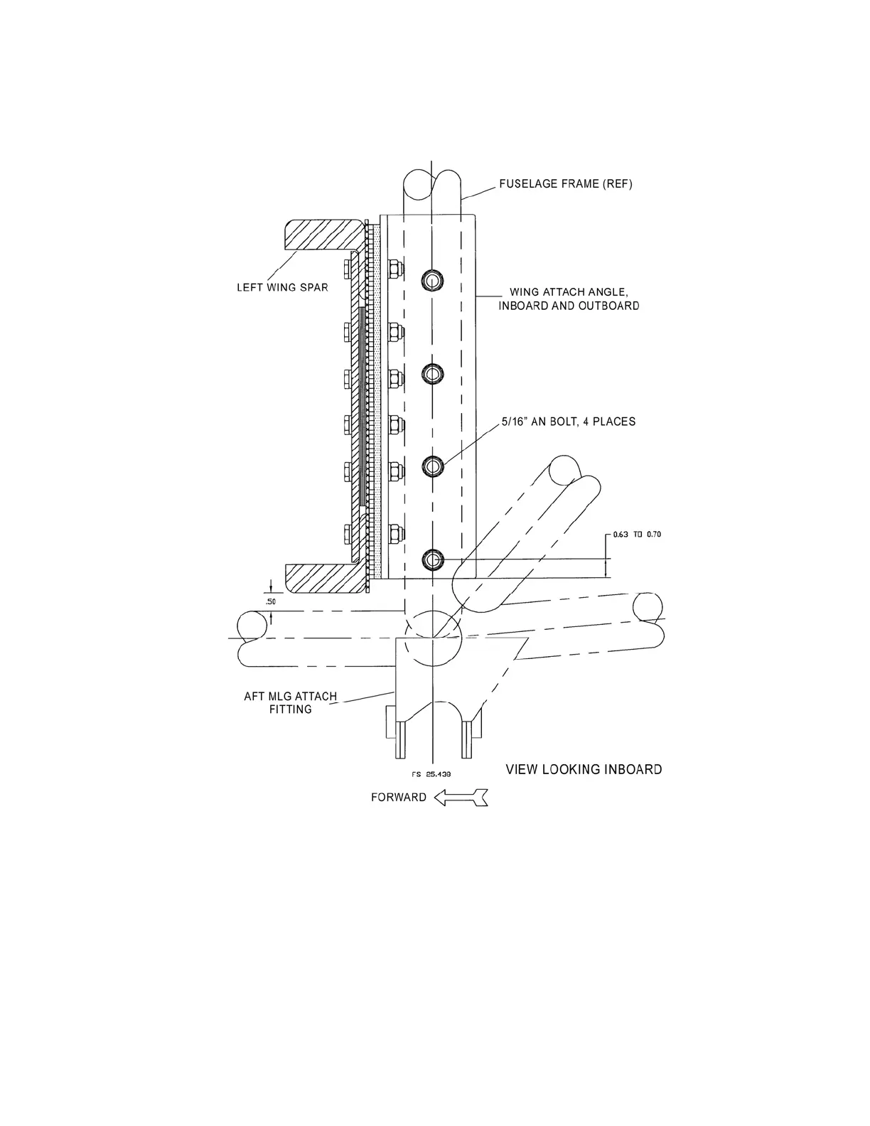
Figure 7-14: Attach Angle Mounting to Fuselage Frame
C. Install the wing attach bolts at the left
and right rear spars and torque to
specification.
D. On the 20243-3 wing attach angles
(outboard only), draw a heavy black
line from top to bottom so as to
bisect the forward face of the flange
when it is positioned on the aircraft.
E. Position these outboard angles so
that they mate flush with the
bushings through the vertical fuselage
tube, flush with the spar web and
contact the top of the lower spar cap.
Now raise the angle so that there is
approximately a 3/16 inch clearance
between the angle and the spar cap.
Clamp the angle to the vertical fuselage
member.
F. Sight through the outboard vertical row
of ¼” bolt holes in the main spar web

Table of Contents

Related product manuals