EasyManua.ls Logo

THRUSH S2R – G10 - Fuel System Troubleshooting

THRUSH S2R – G10
209 pages
Print Icon
To Next Page IconTo Next Page
To Next Page IconTo Next Page
To Previous Page IconTo Previous Page
To Previous Page IconTo Previous Page
Loading...
THRUSH AIRCRAFT, INC – MODEL S2R G10
AIRCRAFT MAINTENANCE MANUAL
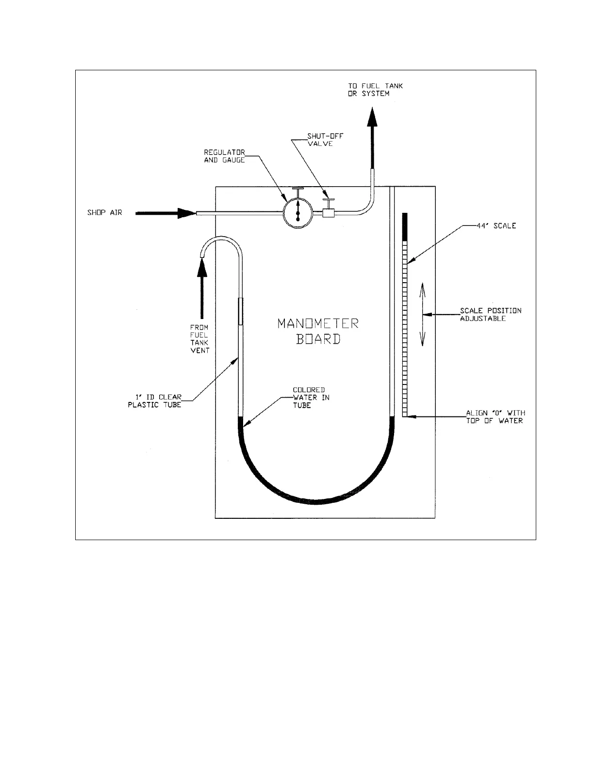
Figure 5-5: Manometer Board for Leak Checking
FUEL SYSTEM TROUBLESHOOTING
The trouble-shooting table on the next page (Table 5-2) discusses symptoms which can be
diagnosed and interprets the results in terms of probable causes and the appropriate
corrective action to be taken. Review all probable causes given and check other listings of
troubles with similar symptoms. Presentation order is not necessarily in order of probability.
Effective: 3/26/2010 Page 5-13

Table of Contents

Related product manuals