EasyManua.ls Logo

Tokheim QUANTIUM 410 - Page 90

Tokheim QUANTIUM 410
102 pages
Print Icon
To Next Page IconTo Next Page
To Next Page IconTo Next Page
To Previous Page IconTo Previous Page
To Previous Page IconTo Previous Page
Loading...
Page 5-34 Document Ref 909342-001 Rev 11
Installation Quantium 410 Installation Manual
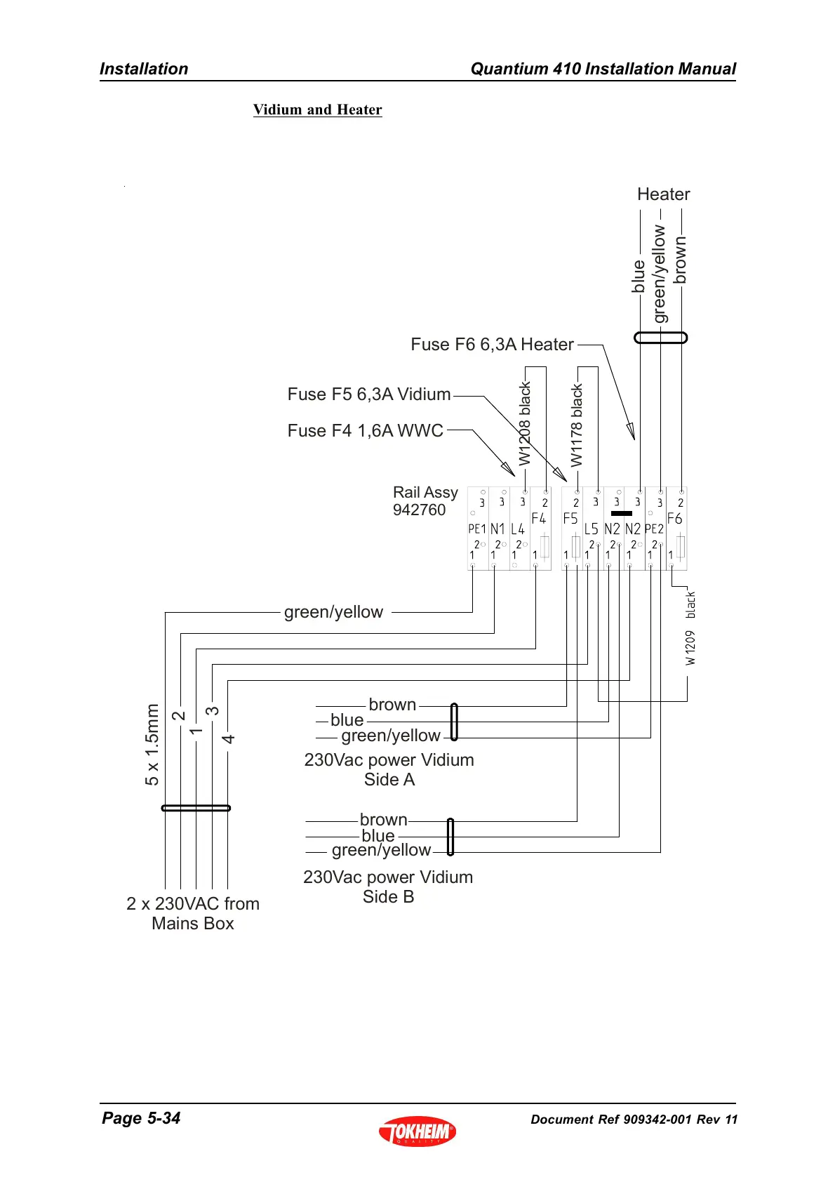
Vidium and Heater
Heater
blue
green/yellow
brown
Fuse F6 6,3A Heater
W1178 black
W1208 black
Fuse F5 6,3A Vidium
Fuse F4 1,6A WWC
Rail Assy
942760
green/yellow
2
1
3
4
brown
brown
blue
blue
green/yellow
green/yellow
230Vac power Vidium
Side A
230Vac power Vidium
Side B
2 x 230VAC from
Mains Box
5 x 1.5mm

Table of Contents

Related product manuals