EasyManua.ls Logo

Toshiba TS3000 Series - 2.3.2 Turning on the Main Power

Toshiba TS3000 Series
368 pages
To Next Page IconTo Next Page
To Next Page IconTo Next Page
To Previous Page IconTo Previous Page
To Previous Page IconTo Previous Page
Loading...
OPERATOR’S MANUAL
series Robot Controller
2.3.2 Turning ON the Main Power
!
CAUTION
If anything abnormal occurs when turning on the main power switch
of the controller or if the POWER LED on the control panel does not
turn on, immediately turn off the power, and check the cables.
Failure to turn off the power can result in an electric shock or fire.
Whenever the power is turned on, programs in the controller are
reset.
(1) Power switch
The TSL3000 does not include a no-fuse breaker in the controller. This must be
provided by the customer. For details, see the Interface Manual.
(2) Procedures
(a) Step 1: Turning ON the main power
Set the no-fuse breaker installed outside the controller to the ON side. The
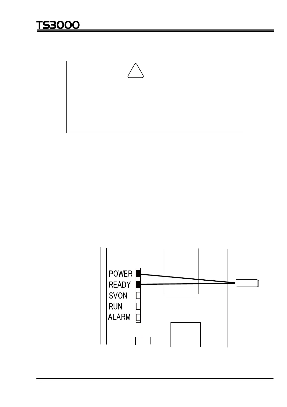
controller front panel POWER LED turns on.
The controller starts system initialization, and the control panel READY
LED turns on. The initial screen of the mode selected by the teaching
pendant is displayed to indicate that operation is possible.
Lighting
STE 80720
– 2-11

Table of Contents

Related product manuals