EasyManua.ls Logo

Toshiba TS3000 Series - Page 89

Toshiba TS3000 Series
368 pages
To Next Page IconTo Next Page
To Next Page IconTo Next Page
To Previous Page IconTo Previous Page
To Previous Page IconTo Previous Page
Loading...
OPERATOR’S MANUAL
series Robot Controller
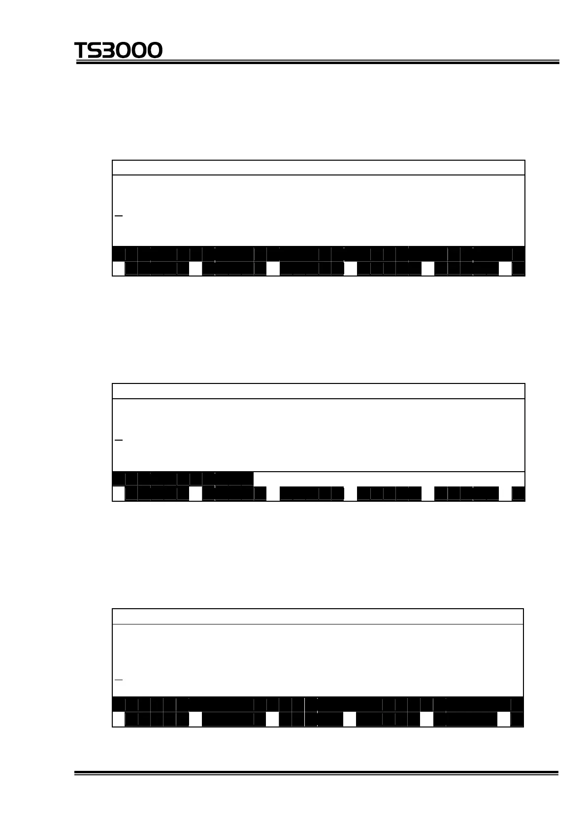
When the [0] key is pressed, the character string at the cursor position is
replaced with another character string. The cursor moves to the top of the
character string found next with the confirmation message displayed again.
P R G R A M . N A M C : 1 L : 3
P R O G R A M T E S T
S P E E D = 5 0
M O V E S A
M O V E B
M O V E C
0 : l o c a l , 1 : g l o b a l , E S C : e x i t
S A V E D E D I T J U M P F I N D C H A N G >
When the [1] key is pressed, all character strings identical with the specified
character string are replaced with the new character string. If the specified
character string does not exist any more, a message of “Not found.” is
displayed to cancel the character string replacement.
P R G R A M . N A M C : 5 L : 1
P R O G R A M T E S T
S P E E D = 5 0
M O V E S A
M O V E S B
M O V E S C
N o t f o u n d .
S A V E D E D I T J U M P F I N D C H A N G >
Press the ESC key to quit the replacement.
If any other key is pressed, the system skips the character string at the cursor
position and moves the cursor to the top of the character string found next with
the confirmation message displayed again.
P R G R A M . N A M C : 1 L : 3
P R O G R A M T E S T
S P E E D = 5 0
M O V E A
M O V E B
M O V E C
0 : l o c a l , 1 : g l o b a l , E S C : e x i t
S A V E D E D I T J U M P F I N D C H A N G >
STE 80720
– 4-30

Table of Contents

Related product manuals