EasyManua.ls Logo

Valleylab LigaSure - Block Diagram

Valleylab LigaSure
168 pages
Print Icon
To Next Page IconTo Next Page
To Next Page IconTo Next Page
To Previous Page IconTo Previous Page
To Previous Page IconTo Previous Page
Loading...
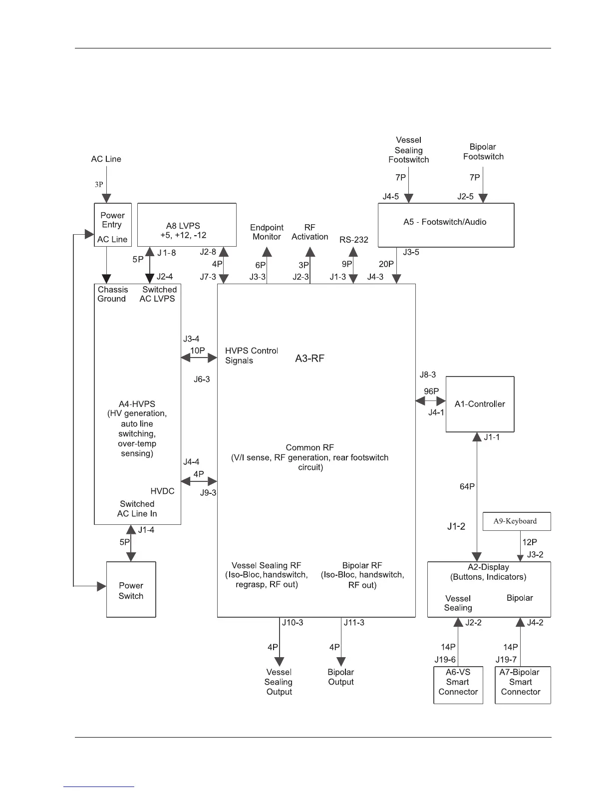
Block Diagram
5-2 LigaSure Vessel Sealing Generator Service Manual
Block Diagram
F i gu r e 5 -1.
A diagram of generator
component interconnections
Artisan Technology Group - Quality Instrumentation ... Guaranteed | (888) 88-SOURCE | www.artisantg.com

Table of Contents

Related product manuals