EasyManua.ls Logo

Valtra 6850 - Page 1313

Valtra 6850
1361 pages
Print Icon
To Next Page IconTo Next Page
To Next Page IconTo Next Page
To Previous Page IconTo Previous Page
To Previous Page IconTo Previous Page
Loading...
1256
Model
Code Page
FITTING INSTRUCTION
99
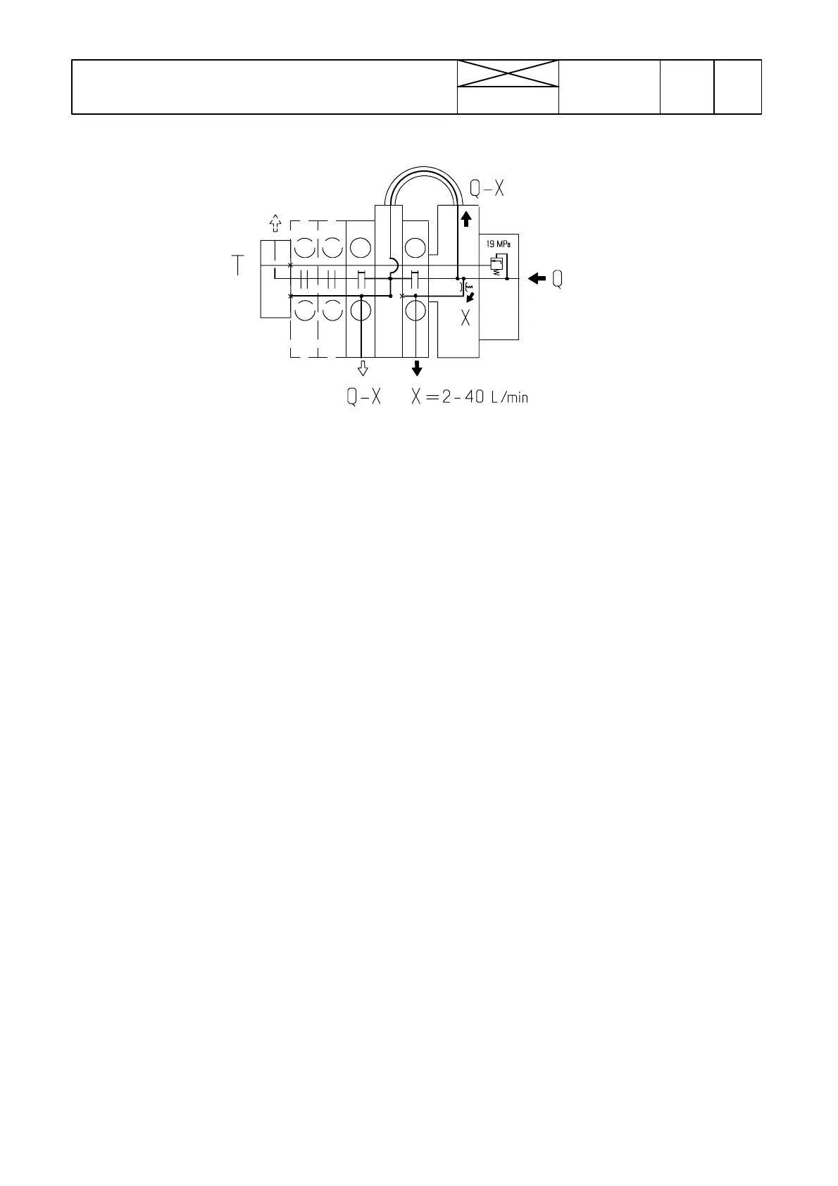
OIL FLOW CONTROL VALVE
4
26.10.1992
29.04.1993 6000---8400 (4)
Oil flow control valve
--- The oil flow control valve makes it possible to use
simultaneously two hydraulic cylinders, or simulta-
neous use of power lift and one auxiliary cylinder.
With the oil flow control valve the oil flow can be
adjusted so that it suits the implement, when ma-
ximal flow is not needed for e.g. speed control of
hydraulic motors (together with a special valve of
the motor).
The oil flow control valve is situated between the
pump end plate and the valve block. The oil flow
is adjusted with a knob on the side panel in the
cab.
--- The regulated oil flow is independent of the pres-
sure
Functions:
--- The valve directs the required priority flow (that
can be steplessly adjusted from 2 to 40 litres per
minute) to the spool valve that is mounted bet-
ween the oil flow control valve and the intermedia-
te plate.
--- The rest of t he flow is directed through an external
pipe to the next, downstream spool valves.
X = pressure channel for the regulated oil flow
Q --- X = the surplus flow to other spool valves

Table of Contents

Related product manuals