EasyManua.ls Logo

Valtra 6850 - Page 725

Valtra 6850
1361 pages
Print Icon
To Next Page IconTo Next Page
To Next Page IconTo Next Page
To Previous Page IconTo Previous Page
To Previous Page IconTo Previous Page
Loading...
674
Model Code Page
42 Gearbox
1. 11. 1998
7A420
6000--8750
B4C
--- H38215
H38216---
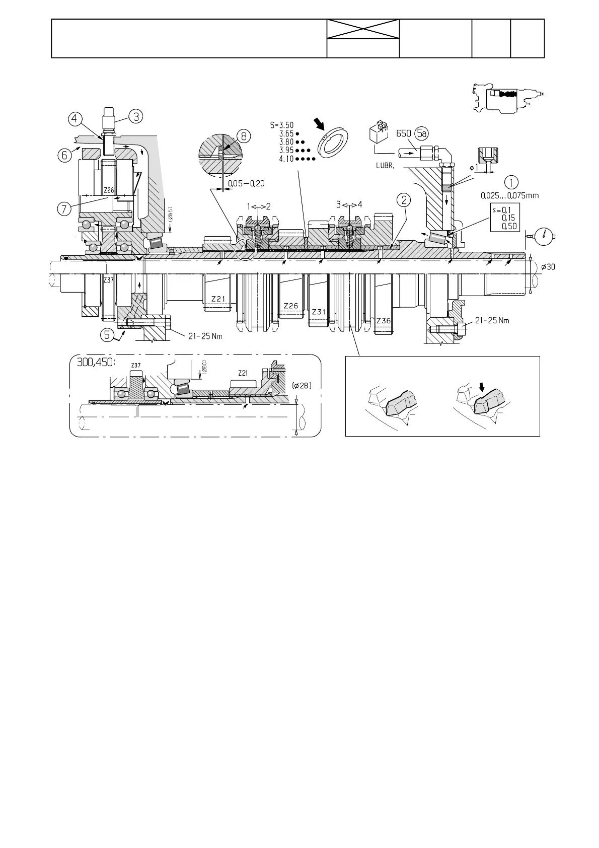
Picture 5A. Input shaft in transmission 650 from ser. no.
H42416 incl. (not HiTech).
1. Bearing end float is adjusted with shims
2. Bushing is locked with Loctite 601
3. Engine speed sensor (CareTel, AC V)
4. Sensor threads are locked with Loctite 542
5. Lubricating oil to the input shaft
5a. Lubricating oil onto the input shaft front bearing
6. Splash oiling from crown wheel
7. Lubricating oil to pump drive shaft splines
8. Circlip. Play between circlip and synchronizing unit hub
is adjusted to 0,05 ---0,20 mm with a spacer between gears
Z26 and Z31.

Table of Contents