EasyManua.ls Logo

Yaesu FT1DR - Programmable Memory Channel Scan (PMS)

Yaesu FT1DR
156 pages
Print Icon
To Next Page IconTo Next Page
To Next Page IconTo Next Page
To Previous Page IconTo Previous Page
To Previous Page IconTo Previous Page
Loading...
63
Scanning Function
Using the Scanning Function
O Canceling Bank Link Scanning
1 Press F and then B.
2 Recall the memory bank for which bank link scanning was specified.
3 Press V.
The memory bank number changes from [b] to [B], indicating that the bank link has
been deactivated.
Programmable Memory Channel Scan (PMS)
Registering to a Programmable Memory Channel
50 sets of PMS memory channels (L1/U1 to L50/U50) are available.
Specify the lower limit frequency of the frequency range you want to scan for memory
channel [L½], and the upper limit frequency for [U½].
Enter a number between 1 and 50 for ½. Use the same number for the lower and upper
limit memory channels.
Specify the lower limit frequency and upper limit frequency for the PMS memory channel
(See page 43).
PMS memory channels are located next to the last memory channel.
Pressing M scans PMS memory channels quickly in steps of 100 memory channels.
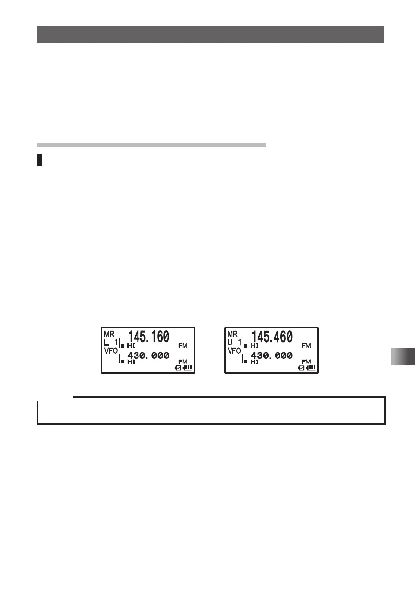
Example: When registering the lower limit frequency 145.160 MHz and the upper limit
frequency 145.460 MHz to a PMS memory channel.
Lower limit frequency L1 Upper limit frequency U1
Caution
When the upper and lower limit frequencies have been set in different step, be sure to set 100 kHz or
more in between.
FT1DRDEEng.indb63FT1DRDEEng.indb63 13/06/2815:1613/06/2815:16

Table of Contents