EasyManua.ls Logo

Zeiss Cell Observer SD - Safety Kit for Customer-Provided Laser Module

Zeiss Cell Observer SD
68 pages
Print Icon
To Next Page IconTo Next Page
To Next Page IconTo Next Page
To Previous Page IconTo Previous Page
To Previous Page IconTo Previous Page
Loading...
INSTRUMENT DESCRIPTION
Cell Observer SD Instrument Description and Main Features Carl Zeiss
M60-2-0021 e 01/2009 423638-7044-001 29
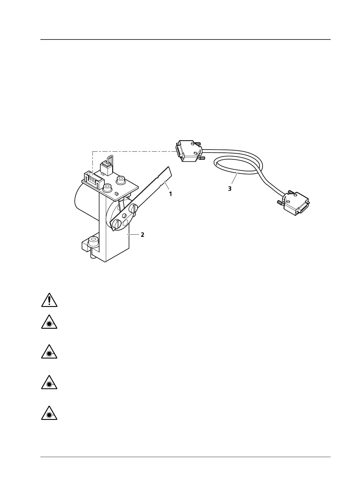
2.3.7 Safety Kit for Customer-Provided Laser Module
The safety kit for Customer-provided laser modules consists of a safety shutter for the laser module (laser
shutter) and a connecting cable.
Fig. 2-9 shows the components of a safety kit for Laser-TIRF
If you intend to use a self-provided laser module, place the safety shutter directly at the exit aperture of
the laser beam between the coupling unit and the laser aperture before the first start-up. Plug the
connector of the laser shutter (
Fig. 2-9/2) into the converter board. Then connect the board to the
distribution box for laser safety using the connection cable (
Fig. 2-9/3). The laser beam must be
completely blocked by the shutter blade (
Fig. 2-9/1) in its lower (de-energized) position.
Fig. 2-9 Laser shutter, converter board and connection cable of safety kit for customer-provided laser
modules
Customers using their own lasers will be solely responsible for overall laser safety of the
Cell Observer SD system. They shall also check for further required laser safety precautions and
validity of all laser warning labels that are affixed to the system, including the microscope.
To operate the system with a total laser power > 300 mW, further laser safety precautions are
required for the microscope.
Where lasers with a total laser power > 300 mW or other wavelengths are used, the Cell
Observer SD protection system must be reviewed for protective effect.
Notify your Laser Safety Officer before proceeding with the initial system start-up.
Valid national laser protection requirements must be met.

Table of Contents

Related product manuals