EasyManua.ls Logo

Zeiss Cell Observer SD - Replacement of HAL Halogen Lamp; Connecting the TIRF Laser Module 2 to the Multi Laser Module; Laser Unit Retrofit

Zeiss Cell Observer SD
68 pages
Print Icon
To Next Page IconTo Next Page
To Next Page IconTo Next Page
To Previous Page IconTo Previous Page
To Previous Page IconTo Previous Page
Loading...
CARE, MAINTENANCE, TROUBLESHOOTING AND SERVICE
Cell Observer SD Replacement of HAL Halogen Lamp Carl Zeiss
M60-2-0021 e 01/2009 423638-7044-001 63
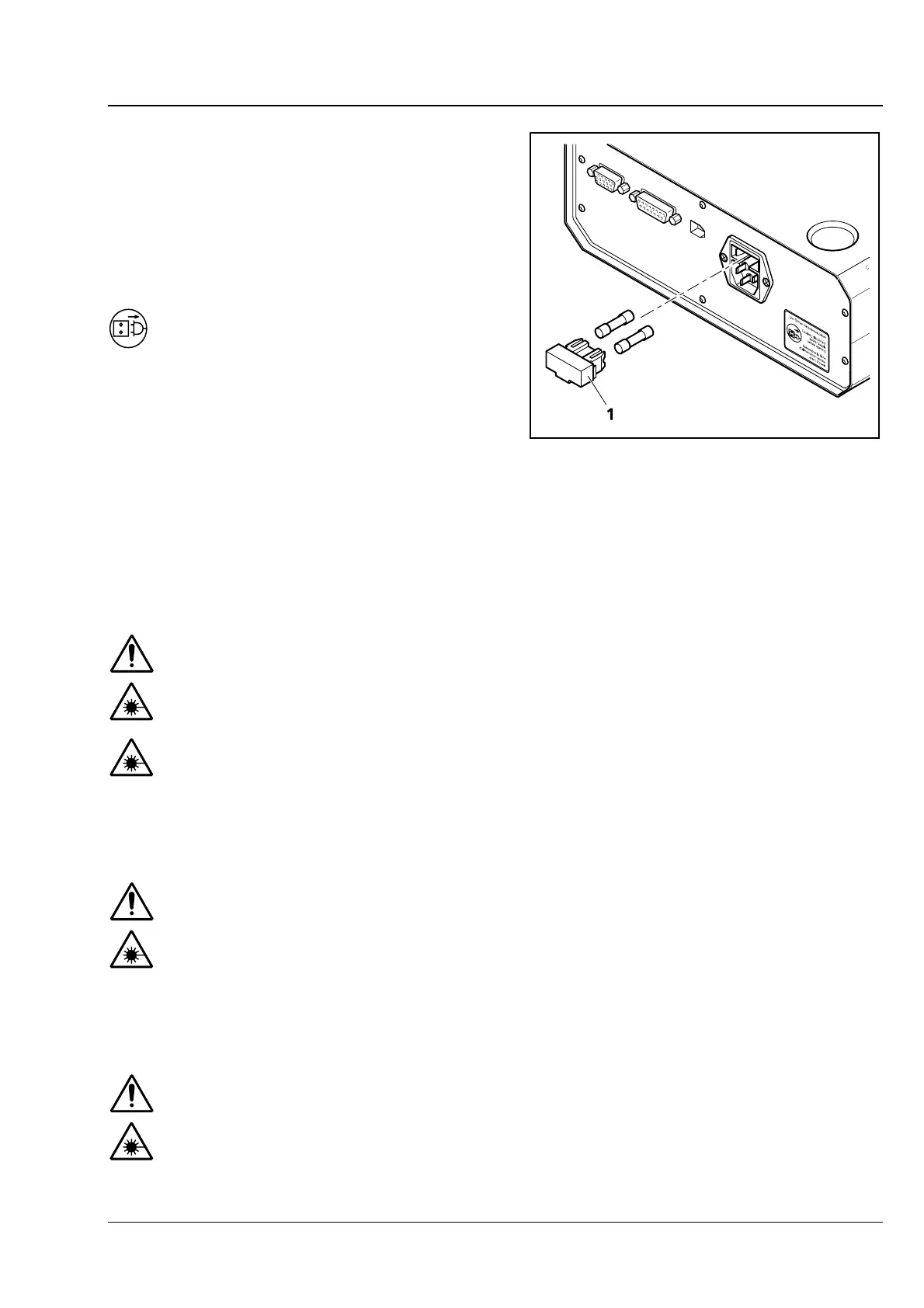
Definite Focus controller:
This fuse holder of this controller module is located
on the rear panel.
In the event of a fuse failure, the cause of such
failure must be determined and a technical fault –
if found to be the cause – removed in a proper
manner at first.
Disconnect the power plug in any
case before replacing the fuses.
Disconnect the main power plug.
Pull fuse holder (
Fig. 5-3/1) out of the fuse
compartment from the front.
Replace defective T 2.0 A/H fuse.
Push fuse holder back until it clicks into locked
position inside the fuse compartment.
Re-connect main power plug.
5.5 Replacement of HAL Halogen Lamp
The halogen lamp of the HAL illuminator may not be replaced by anyone other than service
personnel of Carl Zeiss MicroImaging GmbH or expert technicians specially authorized to
handle such work!
On removal of the halogen lamp, there may be emergence of laser radiation (laser class 3B)!
5.6 Connecting the TIRF Laser Module 2 to the Multi Laser Module
Connection of a version 2 laser module to the multi laser module may not be performed by
anyone other than service personnel of Carl Zeiss MicroImaging GmbH or expert technicians
specially authorized to handle such work!
5.7 Laser Unit Retrofit
Laser units may not be retrofitted by anyone other than personnel of Carl Zeiss
MicroImaging GmbH!
A retrofit procedure will incur additional cost.
Fig. 5-3 Sicherungen am Controller
wechseln

Table of Contents

Related product manuals