EasyManua.ls Logo

ABB FSO-21 - Configuring the FSO module

ABB FSO-21
540 pages
Print Icon
To Next Page IconTo Next Page
To Next Page IconTo Next Page
To Previous Page IconTo Previous Page
To Previous Page IconTo Previous Page
Loading...
308 Configuration
Configuring the FSO module
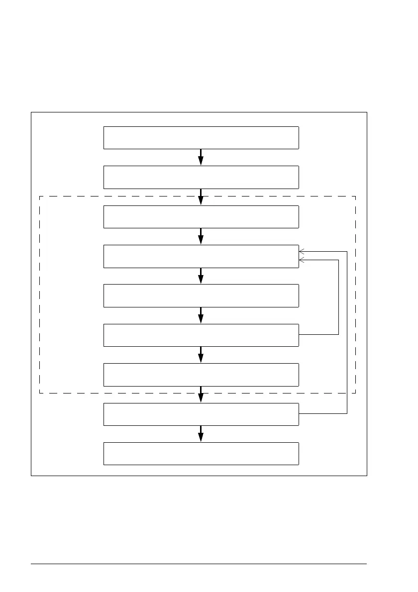
Overview - safety system configuring process
The diagram and table below explain the main phases of the safety system
configuring process.
1. Risk assessment
2. Safety requirements
3. Planning the configuration of the FSO
4. Design of the safety functions
5. Commissioning of the FSO
6. Validation of the functional safety system
7. Validation test report
8. Modification
9. Decommissioning
FSO
configuring

Table of Contents

Related product manuals