EasyManua.ls Logo

Altec LASSIE2 Plus - Ejection Angle of Printed Paper

Altec LASSIE2 Plus
234 pages
Print Icon
To Next Page IconTo Next Page
To Next Page IconTo Next Page
To Previous Page IconTo Previous Page
To Previous Page IconTo Previous Page
Loading...
42
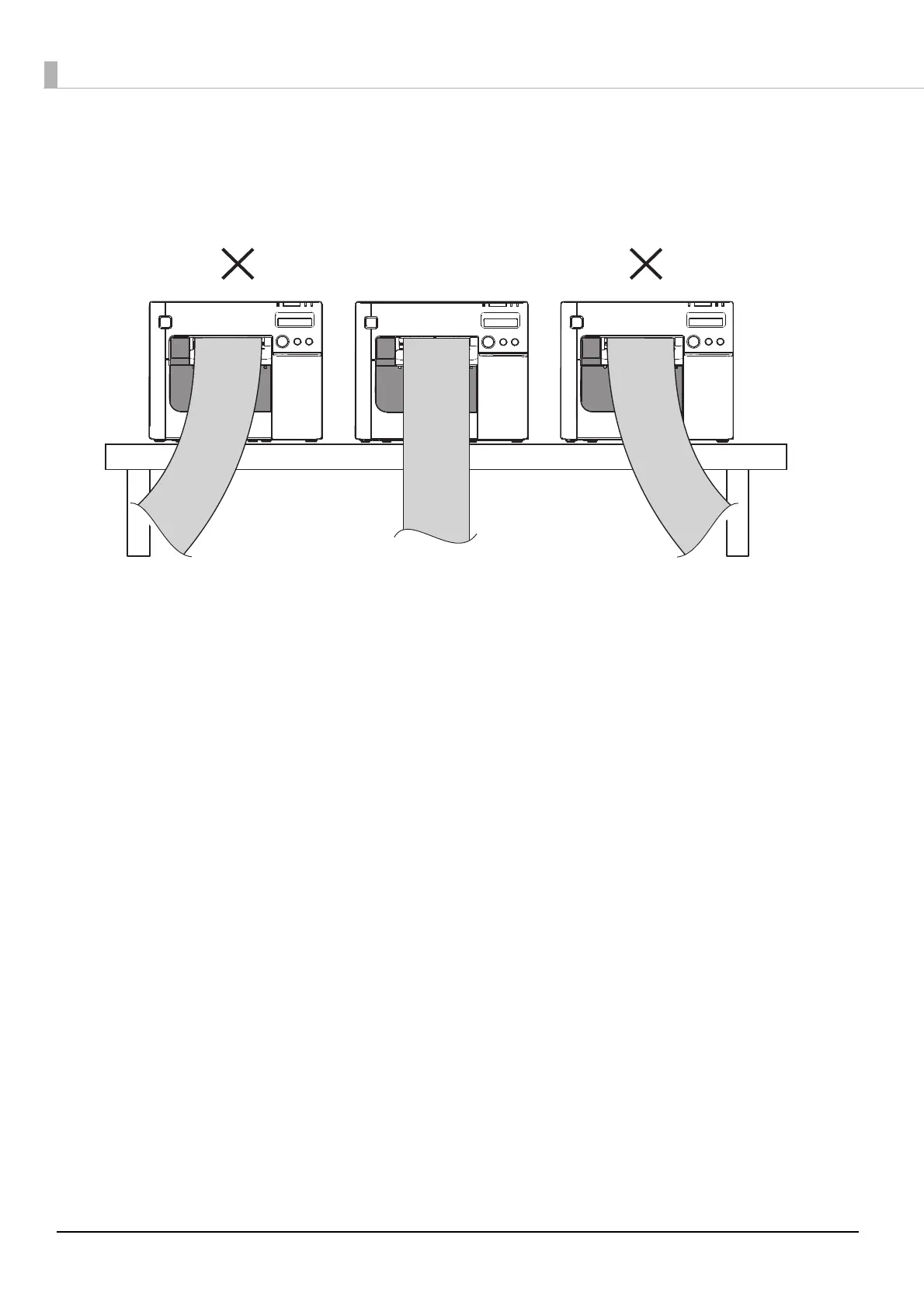
Ejection Angle of Printed Paper
Make sure paper is ejected straight from the paper ejection guides, as shown in the illustration. If
paper is not ejected straight due to such causes as an obstruction, the print result may be distorted.

Table of Contents