EasyManua.ls Logo

Avidsen V250 - Page 100

Avidsen V250
Print Icon
To Next Page IconTo Next Page
To Next Page IconTo Next Page
To Previous Page IconTo Previous Page
To Previous Page IconTo Previous Page
Loading...
NL 16
C - INSTALLATIE
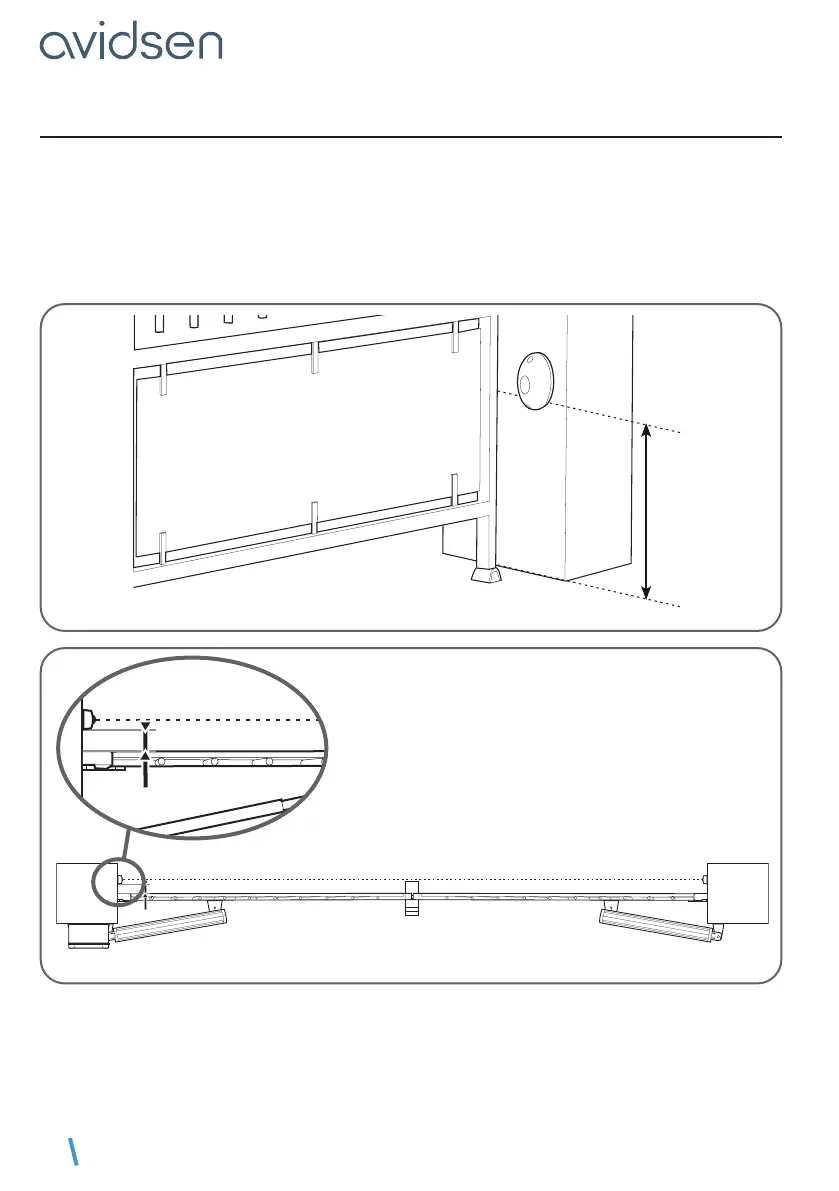
5 - INSTALLATIE VAN EEN SET FOTOCELLEN (ALS OPTIE)
1 set fotocellen
Installeer de ontvangende fotocel (op de achterkant staat RX) aan dezelfde kant van de poort als de
bedieningsbehuizing. Het oppervlak van de zuilen moet perfect plat zijn om de infraroodbundel van de
fotocellen naar behoren te kunnen uitlijnen.
Plaats de fotocellen exact op dezelfde hoogte ten opzichte van de grond. Ze moeten perfect
uitgelijnd zijn en onderling parallel lopen. De afstand tussen het buitenste oppervlak van de
poort en de fotocellen moet tussen 10 en 15 cm bedragen.
• Bevestig de fotocellen op de zuilen.
Buitenzijde van het eigendom
min. 30 cm
max. 60 cm
bovenaanzicht
Binnenzijde van het eigendom
perfecte uitlijning
min. 10cm
max. 15cm

Table of Contents

Related product manuals