EasyManua.ls Logo

Buell X1 2002 - Page 192

Buell X1 2002
462 pages
Print Icon
To Next Page IconTo Next Page
To Next Page IconTo Next Page
To Previous Page IconTo Previous Page
To Previous Page IconTo Previous Page
Loading...
3-38 2002 Buell X1: Engine
HOME
REMOVAL/DISASSEMBLY
NOTE
Oil pump can be removed with engine in frame and without
removing gearcase cover.
1. Drain oil tank. See 1.6 ENGINE LUBRICATION SYS-
TEM
.
2. See
Figure 3-54. Disconnect feed hose (3).
3. Remove clamp (6) from filter hose. Detach oil filter hose
connection (5).
NOTE
Loosen nut on oil filter hose connection (5) and then remove
pressurized hose.
4. Carefully remove mounting screws and washers (1).
Pump will drop with screws removed. Discard mounting
gasket.
5. Remove clamp and detach return hose connection (4).
6. See
Figure 3-55. Remove cover TORX screws (2). Lift
cover (6) off body (12). Remove and discard O-ring (14).
7. Slide both pieces of gerotor feed set (7), separator plate
(8) and both pieces of gerotor scavenge set (9) off gear
shaft (11).
8. Remove and discard retaining ring (16). Remove thrust
washer (15) and gear shaft (11).
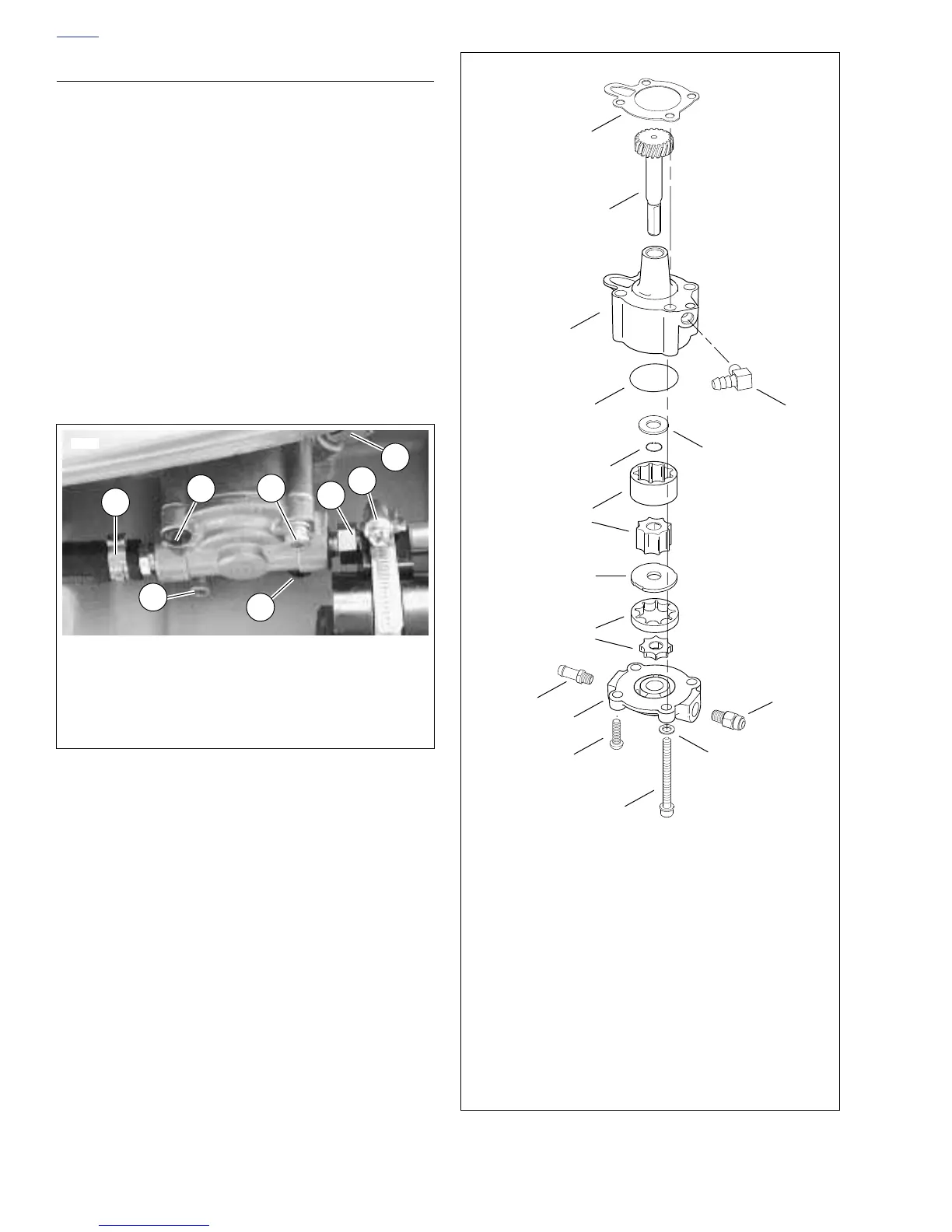
Figure 3-54. Oil Pump Hardware
3
2
1
1
4
5
7068
2
6
1. Mounting Screw and Washer (2)
2. Cover TORX Screw (2)
3. Feed Hose Connection
4. Return Hose Connection
5. Oil Filter Hose Connection
6. Clamp
Figure 3-55. Oil Pump
1. Mounting Screw (2)
2. Cover TORX Screw (2)
3. Washer (2)
4. Oil Filter Mount Connector
5. Feed Hose Connector
6. Cover
7. Gerotor Feed Set
8. Gerotor Separator Plate
9. Gerotor Scavenge Set
10. Mounting Gasket
11. Gear Shaft
12. Body
13. Return Hose Elbow Connector
14. O-Ring
15. Thrust Washer
16. Retaining Ring
b0508x3x
2
1
3
8
16
15
14
12
13
11
10
9
7
5
4
6

Table of Contents

Related product manuals