EasyManua.ls Logo

Buell X1 2002 - Page 387

Buell X1 2002
462 pages
Print Icon
To Next Page IconTo Next Page
To Next Page IconTo Next Page
To Previous Page IconTo Previous Page
To Previous Page IconTo Previous Page
Loading...
2002 Buell X1: Drive/Transmission 6-27
HOME
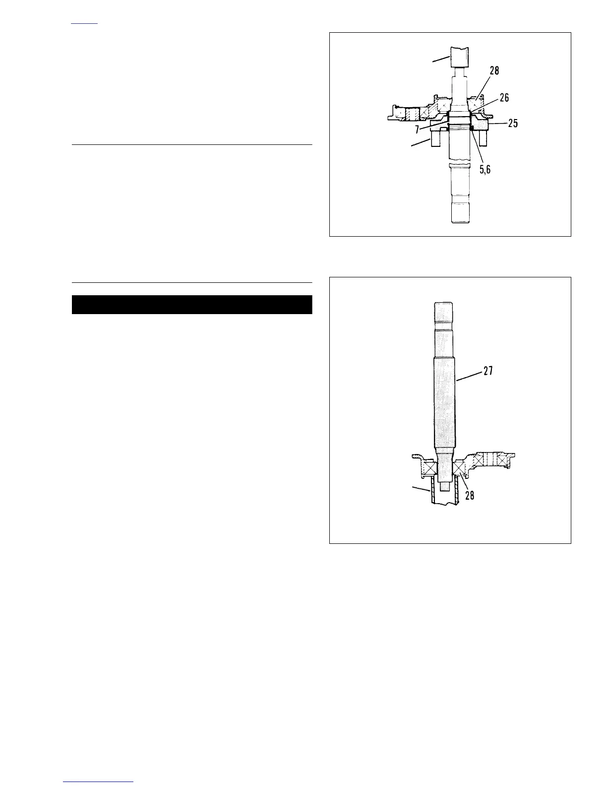
11. See Figure 6-43. Place mainshaft and access door
assembly on arbor press with support under mainshaft
4th gear (25). Press on end of shaft until mainshaft is
free of access door bearing. Remove spacer (26), main-
shaft 4th gear (25) and split bearing (7).
12. Remove thrust washer (6). Expand and remove remain-
ing retaining ring (5).
CLEANING AND INSPECTION
1. Clean all parts (except bearings) in cleaning solvent and
blow dry with compressed air.
2. Check gear teeth for damage. If gears are pitted, scored,
rounded, cracked or chipped, they should be replaced.
3. Inspect the engaging dogs on the gears. Replace the
gears if dogs are rounded, cracked, battered, chipped or
dimpled.
4. Discard all retaining rings that were removed.
ASSEMBLY
CAUTION
During assembly, the split bearings (7) and the internal
bores of the gears must be lubricated with SPORT-
TRANS FLUID prior to assembly. Leaving these parts dry
could accelerate wear at start-up and may result in vehi-
cle damage.
1. Find a section of pipe that matches the inner race of
mainshaft bearing (28). See
Figure 6-44. Place the door
assembly, outside downward, on a press with the inner
race of bearing (28) resting on the section of pipe. Insert
the splined end of the shaft through the bearing and hold
in a vertical position. Press the shaft into the bearing
until the bearing bottoms against the shaft shoulder.
Figure 6-43.
Figure 6-44.
Press
Blocks
xlh0631
Press
xlh0632

Table of Contents

Related product manuals