EasyManua.ls Logo

Chroma 19053 - Connecting DUT Methods; Test Procedure (AC; DC; IR; OS)

Default Icon
116 pages
Print Icon
To Next Page IconTo Next Page
To Next Page IconTo Next Page
To Previous Page IconTo Previous Page
To Previous Page IconTo Previous Page
Loading...
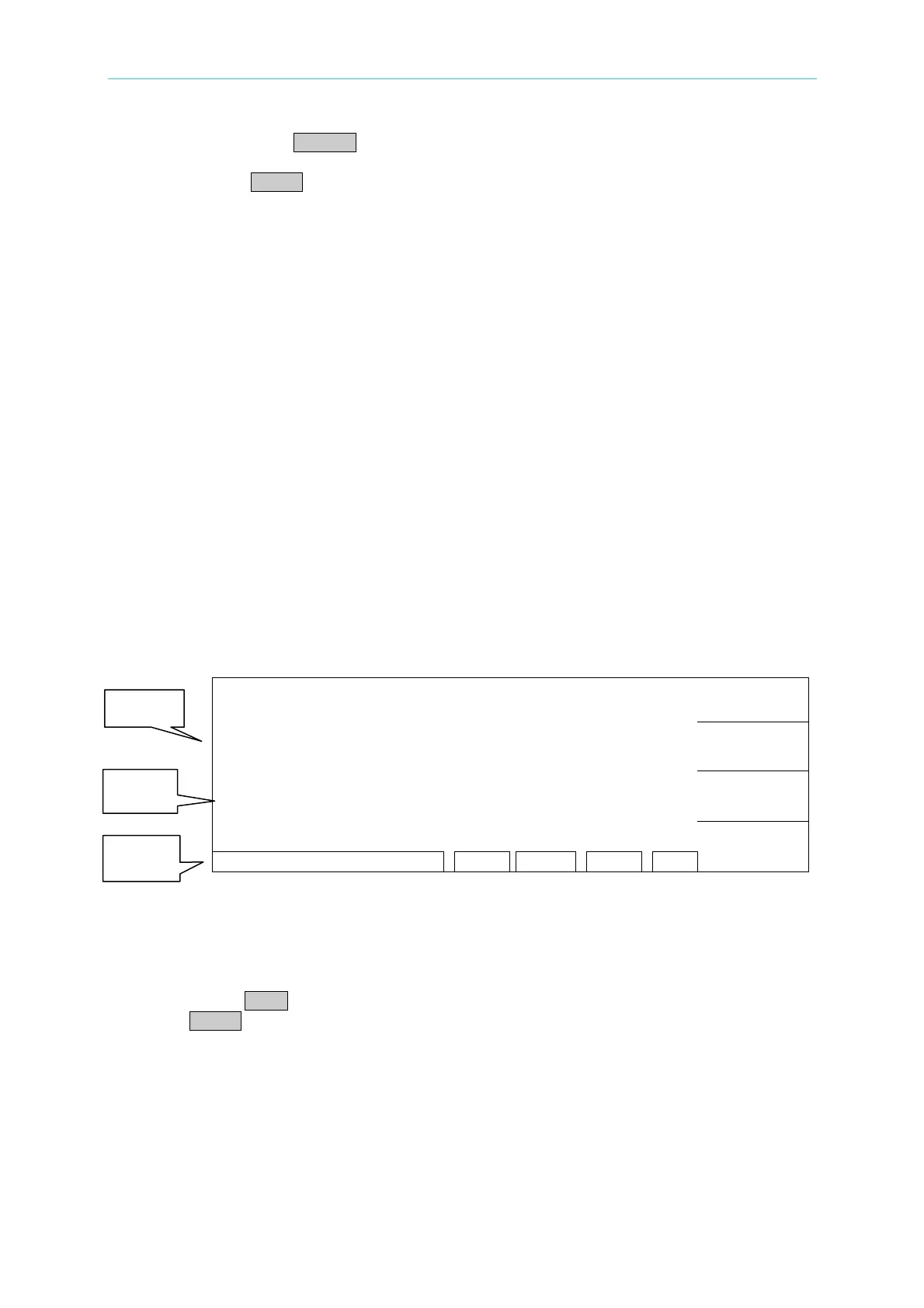
Panel Description
2. Press Function Key OFFSET, the display will show a menu indicate the user open the
output terminal.
3. After pressing START key, DANGER LED on front panel is light up. When test time is
end and PASS indicator is light up, meanwhile Offset block is also highlighted. This
means the tester zeroed the test cable and test lead.
4.8.2 Connecting DUT Methods
Withstanding voltage / Insulation resistance test mode (AC / DC / IR / OS)
First of all, confirms there is no voltage output and DANGER LED isn’t light. And then
connecting test cable (black) of low electric potential to RTN / LOW terminal of the main unit
and fix on the fixture. This test cable and high voltage output terminal short-circuited and
confirms there is no high voltage output. At the same time, high voltage test cable (red or
white) plug in high voltage output terminal OUTPUT. Connecting the test cable of low
electric potential to DUT firstly, and then connecting the test cable of high electric potential to
DUT.
4.8.3 Test Procedure (AC / DC / IR / OS)
4.8.3.1 AC / DC / IR Test Procedure
1. Connection is completed correctly by connecting DUT device method.
2. Under power on menu (as the following figure):
STEP 1/2 AC LOW : OFF
ARC : OFF
PROGRAM
0.050kV
RAMP : OFF
FALL : OFF
PRESET
0.500mA
REAL : OFF
1 2 3 4 5 6 7 8
MENU
3.0s
SCAN : X X X X X X X X
RMT LOCK OFST ERR
MORE..
Line 1
Line 2
Line 3
Schema:
STEP 1/2 means there are 2 test procedures in total and now executing the first test
procedure. AC means test mode. "Line 1" means setting voltage value, "Line 2"
means setting current high limit, "Line 3" means test time. The test results are shown
on the status list.
3. Please press STOP key, ready for testing, the status list show "STANDBY".
4. Press START key to start test.
When press this key, start voltage output. At the same time, DANGER LED will be
lighted, the status list shows "UNDER TEST". Warning: Now test status is with output
voltage. "Line 1" will show output voltage output value; "Line 2" will show current
reading. "Line 3" the timer is counting down simultaneously.
5. GOOD judgment
When all of test statuses have been tested and the result shows PASS, then the main
unit is judged as GOOD and cut off output. The rear panel outputs PASS signal, the
buzzer functions simultaneously.
4-13
www.valuetronics.com

Table of Contents

Related product manuals