EasyManua.ls Logo

Datalogic Matrix 210N - Page 66

Datalogic Matrix 210N
167 pages
Print Icon
To Next Page IconTo Next Page
To Next Page IconTo Next Page
To Previous Page IconTo Previous Page
To Previous Page IconTo Previous Page
Loading...
MATRIX 210N™ REFERENCE MANUAL
54
3
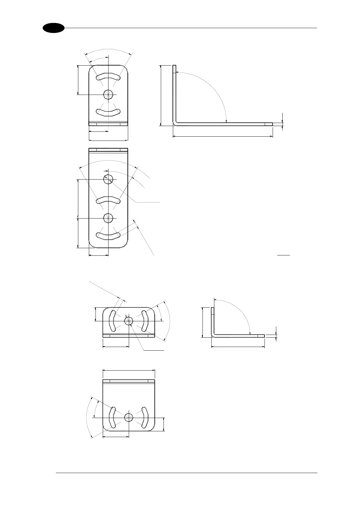
Figure 34 - ST-336 Mounting Bracket Overall Dimensions
Figure 35 - ST-337 Mounting Bracket Overall Dimensions
64
39
[1.54]
[2.52]
2
[0.08]
90°
19
[0.75]
12.5
[0.49]
25
[0.98]
19
[0.75]
60°
30°
12.5
[0.49]
25
[0.98]
60°
30°
Ø 6.2 n°3
n°4 SLOT 3.1
38
22
[0.87]
[1.50]
2
[0.08]
10
[0.39]
30°
60°
60°
30°
n°4 SLOT 3.1
Ø 6.2 n°2
10
[0.39]
18.5
[0.73]
18.5
[0.73]
37
[1.46]
mm
[in]

Table of Contents

Related product manuals