EasyManua.ls Logo

Delem DA-56 - Page 102

Delem DA-56
126 pages
Print Icon
To Next Page IconTo Next Page
To Next Page IconTo Next Page
To Previous Page IconTo Previous Page
To Previous Page IconTo Previous Page
Loading...
V0505, 7.12
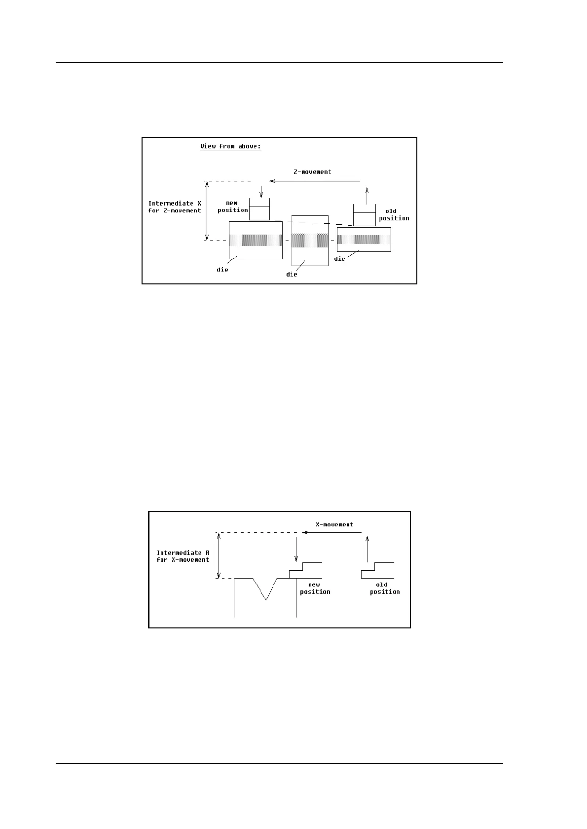
be confused with the parameter ‘X-safety’ of each die.
This parameter is especially useful when several dies of different sizes are placed on the
machine. In that situation, this intermediate X-value should be larger than the safety zone
of the largest die that is installed.
7.j
When the backgauge has to move to a different Z-position, it is checked whether the cur-
rent X-position is safe. We can distinguish the following situations:
Old X-axis position as well as new position outside the zone: X- and Z-axis movements happen at the
same time, no change.
Old X-axis position outside, new position inside the zone: backgauge is positioned on Z-axes first, the
X-movement starts when the Z-axes are in position.
Old X-axis position inside, new position outside the zone: backgauge starts along X-axis, Z-movement
is started when X-axis is outside the zone.
Old X-axis position as well as new position inside the zone: backgauge moves to the intermediate X-
axis position, then the Z-movement is started. When the Z-axes are in position the X-movement is
started to move the backgauge to its new position (see figure 8.j.).
Intermediate R for X-movement . . . . . . . . . . . . . . . . . . . . . . . . . . . . .RS=
Temporary position for the R-axis, to avoid collision as a result of movement of the X-
axis. The value 0 disables this functionality. When programmed not equal to zero this
position will be active when the X-axis has to move inside the safety zone of the die.
7.k
The sequence will be as follows:
The R-axis is moved to the intermediate position;
then the X-axis is moved to its position;
finally the R-axis is moved to its position.

Table of Contents

Related product manuals