EasyManua.ls Logo

DOM GUARD - Page 146

DOM GUARD
241 pages
Print Icon
To Next Page IconTo Next Page
To Next Page IconTo Next Page
To Previous Page IconTo Previous Page
To Previous Page IconTo Previous Page
Loading...
Installation
146
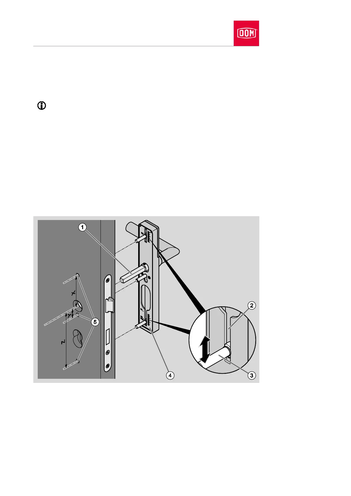
Insert the three threaded bushes (3) through the respective recess into the
guide slots (2) in the assembly profile as shown.
Push the threaded bushes to the desired positions in line with the
measurements established.
Scales are attached on the rear of the assembly profile next to the upper
and lower guide slot for this purpose.
Ensure that the lever handle on the inside handle is aligned correctly (see
page 58).
When using adapter sleeves, make sure that these are attached correctly
(see page 66).
Guide the spindle (1) into the spindle hub and the threaded bushes into the
drill holes (5) on the door.
If necessary, move the threaded bushes until the threaded bushes can be
inserted easily into the drill holes.
Press the assembly profile (4) on the door leaf until it comes to a stop.

Table of Contents