EasyManua.ls Logo

DOM GUARD - Page 147

DOM GUARD
241 pages
Print Icon
To Next Page IconTo Next Page
To Next Page IconTo Next Page
To Previous Page IconTo Previous Page
To Previous Page IconTo Previous Page
Loading...
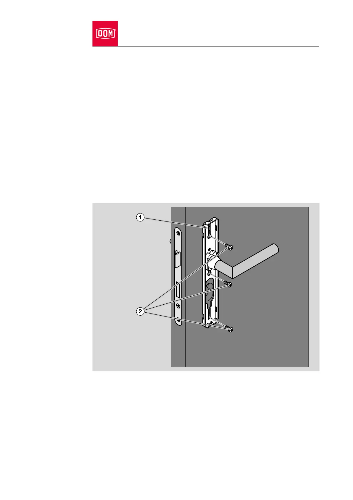
Installing handle
147
Proceed as follows to attach the inner handle with the installed and aligned
lever handle:
Place the lever handle on the spindle protruding on the inside of the door.
Press the assembly profile (1) onto the door leaf.
Insert the three long screws (2) through the guide slots on the assembly
profile into the drill holes of the attachment points as shown.
If necessary, move the long screws until they can be inserted easily into the
drill holes and screwed into the threaded bushes.
Screw the three long screws into the threaded bushes so they are hand
tight.
Check the lever handle for ease of movement.
Release the centre long screw a little if the lever handle does not move
easily.
Check the lever handle for ease of movement once again.

Table of Contents