EasyManua.ls Logo

DOM GUARD - Page 91

DOM GUARD
241 pages
Print Icon
To Next Page IconTo Next Page
To Next Page IconTo Next Page
To Previous Page IconTo Previous Page
To Previous Page IconTo Previous Page
Loading...
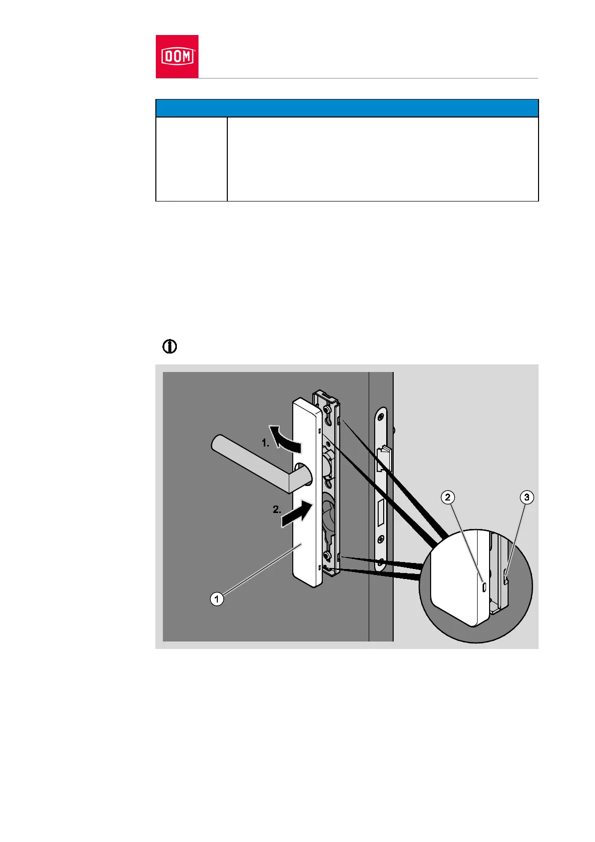
Installing handle
91
ATTENTION!
Distortion of the cover possible due to forceful pressing.
Press the cover carefully until it clicks into the locking
points.
Use the heel of the hand to strike the outer edge of the
cover lightly if necessary.
Place the cover (1) over the lever handle as shown.
You must twist the cover when putting it in position if this is necessary.
Press the cover laterally onto the assembly profile (1.) until the locking
points of the cover (2) are in contact with the locking points of the assembly
profile (3) (1.).
Press the other side of the cover onto the assembly profile in such a way
that the locking points audibly click into place (2.).
The diagram which follows shows an example of the attachment.

Table of Contents