EasyManua.ls Logo

evertz 5700MSC-IP - Figure 3-1: IRIG-B127 Format and Alignment to IRIG1 Datum Pulse; Figure 3-2: 29.97 Hz LTC Format and Alignment to NTSC Video

evertz 5700MSC-IP
100 pages
Print Icon
To Next Page IconTo Next Page
To Next Page IconTo Next Page
To Previous Page IconTo Previous Page
To Previous Page IconTo Previous Page
Loading...
5700MSC-IP
IP Network Grand Master Clock & Video Master Clock System
Page - 22 Revision 0.2
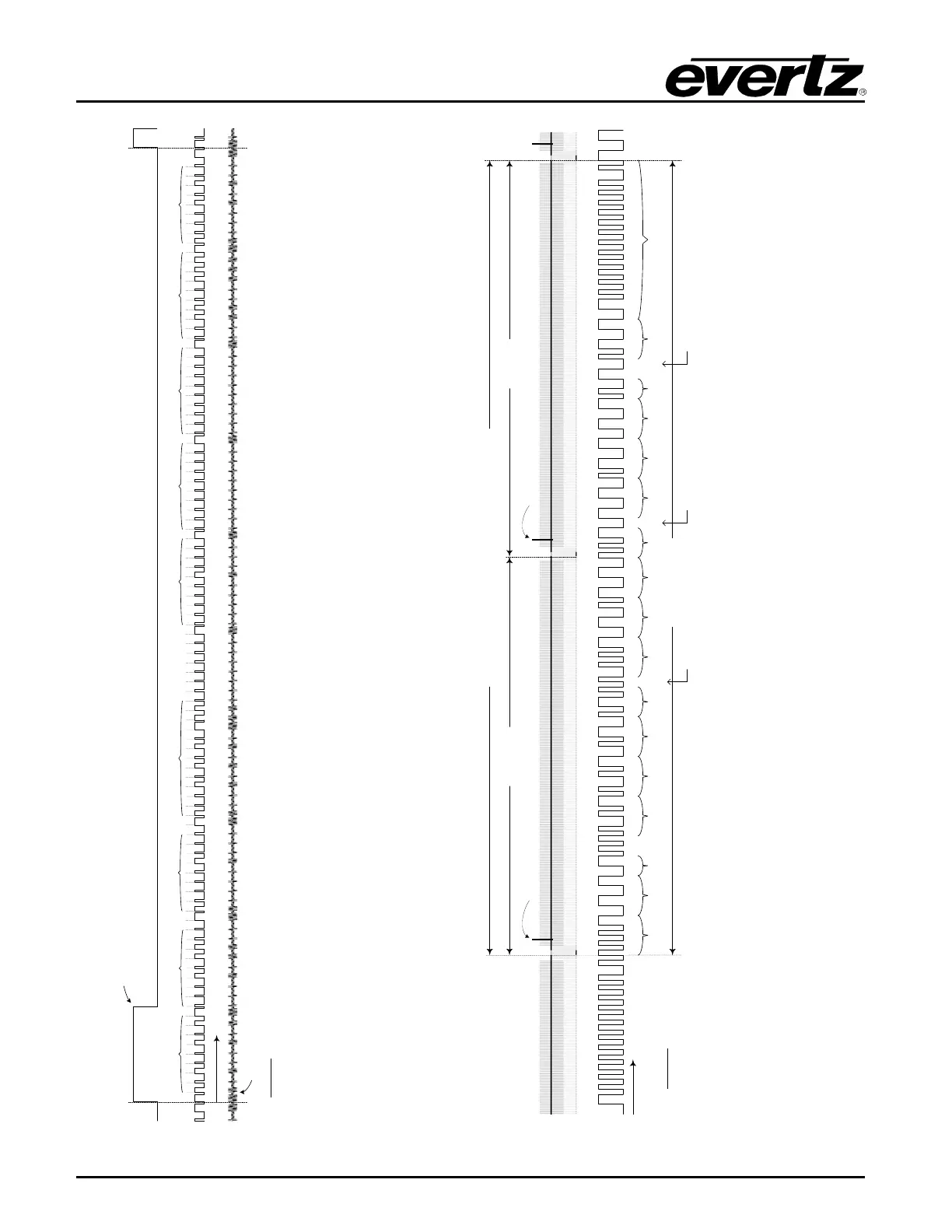
Figure 3-1: IRIG-
B127 Format and Alignment to IRIG1 Datum Pulse
Figure 3-2
: 29.97Hz LTC Format and Alignment to NTSC Video
P
r
P
0
1 0 M
P
1
1 0 1 0 1
Seconds
1 1 10 0 0
0M M P
2
1 100 0 0M M P
3
1 1 10
0 0M P
4
M M P
5
10 0 0 0
M P
6
0
0 0
0 P
7
0 0 0 P
8
Minutes
Hours
0
Days
1 0 1
1
Year
M M M MM 0 0 0 0 0 0 0
0 00 0 0 0 0
Control Bits 1-9 Control Bits 10-18
0 0 P
9
0
0
Straight Binary
Seconds Bits 0-8
1 1 1 1 1 0 0
Straight Binary
Seconds Bits 9-17
11 10 0 0 M
IRIG1 Datum Pulse
IRIG Output – Amplitude Modulated 1kHz Sinewave
P
0
IRIG-B127 – 100 bits/second
LEGEND
Pr = Reference Bit
P
0
P
9
= Position Identifier Bits
M = Index Marker Bit (always 0)
29.97Hz LTC
VITC field 1 line 14
Field 1
NTSC Black Burst - One Frame (33.367ms)
Field 2
VITC field 2 line 14
Sync Word
1
Frames
1 1 0 0
BG1
0 0 0 0 0
10Fr
1 1 1 0 1 0 1 0 1 0
BG2
Seconds BG3
0 1 0 0 1 0 1
10sec
1
BG4
0 1 1 0
Minutes
0 0 0 1
BG5
0 0 0 0 1 1 0
10min
0
BGF0
BG6
0 0 0 0
Hours
1 0 0 0
BG7
0 0 0 0 1 0
10Hr
0 0
BG7
1 0 0 0 0 0 1 1 1 1 1 1 1 1 1 1 1 1 0 1
BGF1
BGF2
Pol. Cor.
Drop Fr.
Color Fr.
29.97Hz LTC = 2397.6 bits/second
LEGEND
BG# = Binary Group (User Bits)
Drop Fr. = Dropframe Counting Flag
BGF# = Binary Group Flags
Color Fr. = Color Frame Alignment Flag
Pol. Cor. = Bit used for Polarity Correction
BGF0 in 25Hz BGF2 in 25Hz
Polarity Correction in 25Hz

Table of Contents

Related product manuals